Federal Court of Australia

Aristocrat Technologies Australia Pty Ltd v Commissioner of Patents [2025] FCAFC 131

Appeal from:

Aristocrat Technologies Australia Pty Limited v Commissioner of Patents (No 3) [2024] FCA 212

File number(s):

NSD 506 of 2024

Judgment of:

BEACH, ROFE AND JACKMAN JJ

Date of judgment:

16 September 2025

Catchwords:

HIGH COURT AND FEDERAL COURT – question of correct approach to remittal and subsequent appeal – where equally divided decision of six High Court Justices resulted in preceding Full Federal Court decision being affirmed pursuant to s 23(2)(a) of Judiciary Act 1903 (Cth) – where, on remitter of Full Court’s decision, the primary judge was to determine residual issues “in light of” Full Court’s reasons – where primary judge upheld Full Court’s reasoning – where High Court had unanimously rejected Full Court’s reasoning

HIGH COURT AND FEDERAL COURT – whether primary judge was bound to follow Full Court’s reasoning – doctrine of precedent considered – only unanimous or majority decisions of High Court have binding authority – where no seriously considered dicta of a majority in High Court decision – primary judge was bound

HIGH COURT AND FEDERAL COURT – whether this Full Court is bound to follow previous Full Court’s reasoning – where ‘compelling reason’ to depart from Full Court’s reasoning, being the High Court’s criticism – Full Court not bound

APPEAL AND NEW TRIAL – whether appeal can be allowed without finding error on part of primary judge – legal principles considered – ‘constructive error’ found, as distinct from criticism of primary judge’s approach

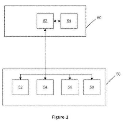
PATENTS – whether claimed computer-implemented invention is a manner of manufacture within meaning of s 18(1A)(a) of the Patents Act 1990 (Cth) – approach of High Court’s allowing reasons adopted, as opposed to previous Full Court’s proposed alternative approach – where manner of manufacture depends on characterisation – where characterisation determined in light of specification as a whole – where appropriate approach to computer-implemented invention is whether subject matter is (i) an abstract idea manipulated on a computer; or (ii) an abstract idea implemented on a computer to produce an artificial state of affairs and useful result – claim 1 held to be a manner of manufacture – residual claims therefore also a manner of manufacture by analogy with claim 1

Legislation:

Patents Act 1990 (Cth)

Intellectual Property Laws Amendment (Raising the Bar) Act 2012 (Cth)

Judiciary Act 1903 (Cth)

Federal Court of Australia Act 1976 (Cth)

Statute of Monopolies 1623 (UK) 21 Jac 1, c 3

Cases cited:

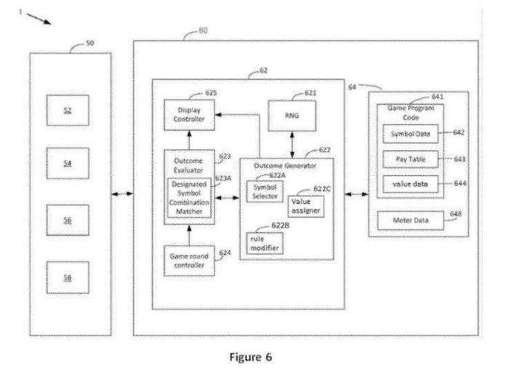
Algama v Minister for Immigration and Multicultural Affairs [2001] FCA 1884; (2001) 115 FCR 253

Allesch v Maunz [2000] HCA 40; (2000) 203 CLR 172

Aristocrat Technologies Australia Pty Ltd v Commissioner of Patents [2020] FCA 778; (2020) 382 ALR 400; 153 IPR 11

Aristocrat Technologies Australia Pty Ltd v Commissioner of Patents [2022] HCA 29; (2022) 274 CLR 115

Aristocrat Technologies Australia Pty Ltd v Commissioner of Patents (No 3) [2024] FCA 212; (2024) 177 IPR 73

Aristocrat Technologies Australia Pty Ltd v Commissioner of Patents [2024] FCA 987

Aristocrat Technologies Australia Pty Ltd v Commissioner of Patents [2025] HCADisp 7

Aristocrat Technologies Australia Pty Ltd v Konami Australia Pty Ltd [2015] FCA 735; (2015) 114 IPR 28

Australia Bay Seafoods Pty Ltd v Northern Territory of Australia [2022] FCAFC 180; (2022) 295 FCR 443

Australian Broadcasting Corporation v Lenah Game Meats Pty Ltd [2001] HCA 63; (2001) 208 CLR 199

Branir Pty Ltd v Owston Nominees (No 2) Pty Ltd [2001] FCA 1833; (2001) 117 FCR 424

BVT20 v Minister for Immigration, Citizenship, Migrant Services and Multicultural Affairs [2020] FCAFC 222; (2020) 283 FCR 97

CCOM Pty Ltd v Jeijing Pty Ltd (1994) 51 FCR 260

Colin R Price & Associates Pty Ltd v Four Oaks Pty Ltd [2017] FCAFC 75; (2017) 251 FCR 404

Commissioner of Patents v Aristocrat Technologies Australia Pty Ltd [2021] FCAFC; (2021) 286 FCR 572

Commissioner of Patents v Rokt Pte Ltd [2020] FCAFC 86; (2020) 277 FCR 267

Commissioner of Patents v RPL Central Pty Ltd [2015] FCAFC 177; (2015) 238 FCR 27

Construction, Forestry, Maritime, Mining and Energy Union v Personnel Contracting Pty Ltd [2020] FCAFC 122; (2020) 279 FCR 631

D’Arcy v Myriad Genetics Inc [2015] HCA 35; (2015) 258 CLR 334

Dei Gratia Pty Ltd v Commissioner of Patents [2024] FCA 1145

Encompass Corporation Pty Ltd v Infotrack Pty Ltd [2019] FCAFC 161; (2019) 372 ALR 646

Farah Constructions Pty Ltd v Say-Dee Pty Ltd [2007] HCA 22; (2007) 230 CLR 89

Federal Commissioner of Taxation v St Helens Farm (ACT) Pty Ltd [1981] HCA 4; (1991) 146 CLR 336

Federation Insurance Limited v Wasson [1987] HCA 34; (1987) 163 CLR 303

FKV17 v Minister for Home Affairs [2022] FCAFC 93; (2022) 292 FCR 201

Grant v Commissioner of Patents [2006] FCAFC 120; (2006) 154 FCR 62

Harvard Nominees Pty Ltd v Tiller [2020] FCAFC 229; (2020) 282 FCR 530

Hytera Communications Corporation Ltd v Motorola Solutions Inc [2024] FCAFC 168

In the Estate of Langley (Deceased); Langley v Langley [1974] 1 NSWLR 46

International Business Machines Corporation v Commissioner of Patents (1991) 33 FCR 218

KMD v CEO (Department of Health NT) [2025] HCA 4; (2025) 421 ALR 469

Konami Australia Pty Ltd v Aristocrat Technologies Australia Pty Ltd [2016] FCAFC 103; (2016) 119 IPR 402

Lacey v Attorney-General (Queensland) [2011] HCA 10; (2011) 242 CLR 573

Lendlease Corporation Ltd v Pallas [2025] HCA 19; (2025) 423 ALR 23

Long v Chubb Australian Company Ltd [1935] HCA 11; (1935) 53 CLR 143

Milne v Federal Commissioner of Taxation [1976] HCA 2; (1976) 133 CLR 526

Minister for Immigration and Border Protection v SZVFW [2018] HCA 30; (2018) 264 CLR 541

Minister for Immigration, Citizenship, Migrant Services and Multicultural Affairs v FAK19 [2021] FCAFC 153; (2021) 287 FCR 181

Monis v The Queen [2013] HCA 4; (2013) 249 CLR 92

Motorola Solutions Inc v Hytera Communications Corporation Ltd (Liability) [2022] FCA 1585; (2022) 172 IPR 221

National Disability Insurance Agency v Warwick [2025] FCAFC 100

National Research Development Corporation v Commissioner of Patents [1959] HCA 67; (1959) 102 CLR 252

Nguyen v Nguyen [1990] HCA 9; (1990) 169 CLR 245

Pallas v Lendlease Corporation Ltd [2024] NSWCA 83; (2024) 114 NSWLR 81

Perara-Cathcart v The Queen [2017] HCA 9l; (2017) 260 CLR 595

Re Aristocrat Technologies Australia Pty Ltd [2018] APO 45

Re Wakim; Ex parte McNally [1999] HCA 27; (1999) 198 CLR 511

Repipe Pty Ltd v Commissioner of Patents [2021] FCAFC 223; (2021) 164 IPR 1

Research Affiliates LLC v Commissioner of Patents [2014] FCAFC 150; (2014) 227 FCR 378

Tasmania v Victoria [1935] HCA 4; (1935) 52 CLR 157

Transurban CityLink Ltd v Allan [1999] FCA 1723; (1999) 95 FCR 553

UbiPark Pty Ltd v TMA Capital Australia Pty Ltd (No 2) [2023] FCA 885; (2023) 177 IPR 254

Unions NSW v New South Wales [2013] HCA 58; (2013) 252 CLR 530

Watson v Commissioner of Patents [2020] FCAFC 56; (2020) 150 IPR 207

P Herzfeld and T Prince, Interpretation (2nd ed, Thomson Reuters, 2020)

Division:

General Division

Registry:

New South Wales

National Practice Area:

Intellectual Property

Sub-area:

Patents and Associated Statutes

Number of paragraphs:

144

Date of last submission/s:

10 September 2025

Date of hearing:

18 August 2025

Counsel for the Appellant:

Mr D Shavin KC with Mr P Creighton-Selvay

Solicitors for the Appellant:

Gilbert + Tobin

Counsel for the Respondent:

Mr C Dimitriadis SC with Ms M Evetts

Solicitors for the Respondent:

Australian Government Solicitors

ORDERS

NSD 506 of 2024

BETWEEN:

ARISTOCRAT TECHNOLOGIES AUSTRALIA PTY LTD

ACN 001 660 715

Appellant

AND:

COMMISSIONER OF PATENTS

Respondent

order made by:

BEACH, ROFE AND JACKMAN JJ

DATE OF ORDER:

16 september 2025

THE COURT ORDERS THAT:

1.    Leave be granted to the Appellant to amend its Notice of Appeal in the form handed up to the Court during the hearing of the appeal.

2.    The appeal be allowed.

3.    Orders 1 and 2 made on 12 April 2024 by the primary judge be set aside.

4.    The decision made by the delegate of the Commissioner of Patents on 5 July 2018 to revoke:

(a)    Claims 2–5 of Innovation Patent No. 2016101967;

(b)    Claims 1–5 of Innovation Patent No. 2017101629;

(c)    Claims 1–5 of Innovation Patent No. 2017101097;

(d)    Claims 1–5 of Innovation Patent No 2017101098 (the Claims);

under s 101F(1) of the Patents Act 1990 (Cth) (the Patents Act) be set aside.

5.    The Commissioner of Patents is directed to issue, publish and register a certificate of examination in respect of each of the Claims in accordance with s 101E(2) of the Patents Act.

6.    It is certified, pursuant to s 19(1) of the Patents Act, that the validity of the Claims as claiming an invention that is a manner of manufacture within the meaning of s 18(1A)(a) of the Patents Act was questioned in this proceeding.

7.    The Respondent pay the Appellant’s costs of the appeal and of the proceedings before the primary judge.

Note:    Entry of orders is dealt with in Rule 39.32 of the Federal Court Rules 2011.

REASONS FOR JUDGMENT

THE COURT:

Introduction

1    The fundamental issue in these proceedings is whether the claims in four patents concerning electronic gaming machines (EGMs) satisfy the requirement that they be a manner of manufacture within s 6 of the Statute of Monopolies 1623 (UK) 21 Jac 1, c 3 (Statute of Monopolies) as required by s 18(1A)(a) of the Patents Act 1990 (Cth) (Patents Act). In the particular circumstances of this lengthy and complex litigation, however, the manner in which that issue is to be addressed depends on a series of questions concerning the doctrine of precedent which arise when a matter has been remitted to the Federal Court after the High Court was equally divided.

2    The patents in suit (the patents) are:

(a)    innovation patent number 2016101967 (967 patent);

(b)    innovation patent number 2017101097 (097 patent);

(c)    innovation patent number 2017101098 (098 patent); and

(d)    innovation patent number 2017101629 (629 patent).

Each of those patents is entitled “A system and method for providing a feature game” and has a priority date of 11 August 2014. The version of the Patents Act applicable to the patents is that which follows the commencement of the Intellectual Property Laws Amendment (Raising the Bar) Act 2012 (Cth).

3    The patents are owned by Aristocrat Technologies Australia Pty Ltd (Aristocrat). Aristocrat is part of the Aristocrat Leisure Limited group of companies, which is one of the largest gaming services providers in the world, and a manufacturer of EGMs. Each of the patents was granted and the Commissioner of Patents (the Commissioner) was asked to examine them pursuant to s 101A of the Patents Act. On 5 July 2018, a delegate of the Commissioner revoked the patents on the basis that none of the claims in any of the patents were a manner of manufacture: Re Aristocrat Technologies Australia Pty Ltd [2018] APO 45.

4    Aristocrat appealed from the decision of the delegate of the Commissioner pursuant to s 101F(4) of the Patents Act, and on 10 July 2020 the decision of the delegate was reversed: Aristocrat Technologies Australia Pty Ltd v Commissioner of Patents [2020] FCA 778; (2020) 382 ALR 400; 153 IPR 11 (Burley J) (PJ1). On 6 December 2021, the Full Court reversed that decision, with Middleton and Perram JJ giving one set of reasons for determining that the claims were not a manner of manufacture (majority decision) and Nicholas J providing separate reasons for the same conclusion (minority decision). The Full Court determined that the matter should be remitted to the primary judge for consideration of outstanding issues in light of its reasons: Commissioner of Patents v Aristocrat Technologies Australia Pty Ltd [2021] FCAFC; (2021) 286 FCR 572

5    The High Court granted special leave to appeal. Six Justices heard the case and they were equally divided in opinion in the judgments delivered on 17 August 2022. Chief Justice Kiefel, Gageler and Keane JJ held that the claims were not a manner of manufacture and that the appeal should be dismissed (dismissing reasons), whereas Gordon, Edelman and Steward JJ held that the claims were a manner of manufacture and that the appeal should be allowed (allowing reasons): Aristocrat Technologies Australia Pty Ltd v Commissioner of Patents [2022] HCA 29; (2022) 274 CLR 115.

6    The equal division in opinion in the High Court decision invoked s 23(2)(a) of the Judiciary Act 1903 (Cth) (the Judiciary Act), which provides in relation to the High Court:

(2) …    when the Justices sitting as a Full Court are divided in opinion as to the

decision to be given on any question, the decision shall be decided according to the

decision of the majority, if there is a majority; but if the Court is equally divided in

opinion:

(a)    in the case where … a decision of the Federal Court of Australia … is called in question by appeal or otherwise, the decision appealed from shall be affirmed…

7    Accordingly, the Full Court decision has been affirmed. An aspect of that decision was the order made by the Full Court that the proceedings be remitted to the primary judge (the remittal order):

…for determination of any residual issues in light of the Full Court’s reasons including any issues which concern the position of claims other than claim 1 of Innovation Patent No 2016101967 (referred to at [8] of the reasons of the primary judge dated 5 June 2020) and the costs of the hearings before the primary judge.

8    On 12 April 2024, on remittal, Burley J dismissed the appeal from the decisions of the Commissioner’s delegate, applying the reasons in the majority decision of the Full Court: Aristocrat Technologies Australia Pty Ltd v Commissioner of Patents (No 3) [2024] FCA 212; (2024) 177 IPR 73 (PJ2).

9    The present appeal is an appeal from PJ2. On 30 August 2024, O’Bryan J granted Aristocrat leave to appeal pursuant to s 158(2) of the Patents Act: Aristocrat Technologies Australia Pty Ltd v Commissioner of Patents [2024] FCA 987. On 6 February 2025, all seven Justices of the High Court refused an application by Aristocrat pursuant to s 40(2) of the Judiciary Act for removal of the whole of the cause pending in the Federal Court, being the present appeal: Aristocrat Technologies Australia Pty Ltd v Commissioner of Patents [2025] HCADisp 7. The reasons given by the High Court (at [2]) are as follows:

In the circumstances, the Appeal does not raise an issue of wide and significant public importance which requires urgent resolution and would justify the interruption of the appellate process of the Full Court of the Federal Court, the absence of the reasons of that Court, and allowing the applicant to by-pass the requirements of s 35A of the Judiciary Act.

The 967 patent

The specification

10    The 967 patent is entitled “A system and method for providing a feature game”. The field of the invention is said to relate to a gaming system and a method of gaming. The “Background of the Invention” states (page 1, lines 12–17):

In existing gaming systems, feature games may be triggered for players in addition to the base game. A feature game gives players an additional opportunity to win prizes, or the opportunity to win larger prizes, than would otherwise be available in the base game. Feature games can also offer altered game play to enhance player enjoyment.

A need exists for alternative gaming systems.

11    The “Summary of the Invention” contains a consistory clause in the same terms as independent claim 1 and dependant claims 2–5 (referred to below). There then follows a “Brief Description of the Drawings of the Invention”, being Figures 1–10B.

12    The “Detailed Description of a Preferred Embodiment of the Invention” commences as follows (page 3, lines 17–30):

Referring to the drawings, there are shown example embodiments of gaming systems having components which are arranged to implement a base game, from which may be triggered a feature game. In these embodiments, symbols are selected from a set of symbols comprising a plurality of configurable symbols and non-configurable symbols. The gaming system incorporates a mechanism that enables the symbols to be configured. In one example, the gaming system is configured so that a feature game is triggered when six of the configurable symbols are selected for display. The invention is not limited to triggering a feature game only when six configurable symbols are selected, however. In other embodiments, any number of configurable symbols may trigger the feature game.

Furthermore, each of the configurable symbols comprises a variable portion which is indicative of the value of a prize. When the feature game is triggered, the player is guaranteed to win the accumulated value of the prizes indicated by the variable portions of the configurable symbols.

13    The concept of configurable symbols is elaborated upon later in the detailed description (page 9, line 36 – page 10, line 9), as being symbols that include a common component and a variable component as exemplified in Figures 9A–9C which are reproduced below:

The common component in figures 9A–9C is the pearl 902, and the variable component is the indicia 904 overlaying the pearl. In this particular example, the indicia numerals on the pearls directly indicate the value of the prize, but in other examples they may indirectly do so, such as by referring to “major” or “minor”, or the prize may be represented by an icon such as a representation of a car.

14    The specification identifies the “General construction of gaming system”. The specification says that gaming systems can take a number of different forms, one being a “standalone gaming machine” where all or most of the components required for implementing the game are present in a player operable EGM, and another being a distributed architecture where some of the components required for implementing the game are present in a player operable EGM and others are located remotely, such as by being networked to a gaming server (page 3, line 34 – page 4, line 13).

15    Figure 1 is the following diagram of the core components of a gaming system:

16    Those core components are described as follows (page 4, lines 15–24). The references to integers in the following paragraphs are references to the integers identified in the diagrams in the specification:

Irrespective of the form, the gaming system 1 has several core components. At the broadest level, the core components are a player interface 50 and a game controller 60 as illustrated in Figure 1. The player interface is arranged to enable manual interaction between a player and the gaming system and for this purpose includes the input/output components required for the player to enter instructions to play the game and observe the game outcome.

Components of the player interface may vary from embodiment to embodiment but will typically include a credit mechanism 52 to enable a player to input credits and receive payouts, one or more displays 54, a gameplay mechanism 56 including one or more input devices that enable a player to input gameplay instructions (e.g. to place a wager), and one or more speakers 58.

17    The specification describes the operation of the EGM as follows (page 4, lines 26–38):

The game controller 60 is in data communication with the player interface and typically includes a processor 62 that processes the gameplay instructions in accordance with game play rules and outputs game play outcomes to the display. Typically, the game play rules are stored as program code in a memory 64 but can also be hardwired. Herein the term “processor” is used to refer generically to any device that can process game play instructions in accordance with game play rules and may include: a microprocessor, microcontroller, programmable logic device or other computational device, a general purpose computer (e.g. a PC) or a server. That is a processor may be provided by any suitable logic circuitry for receiving inputs, processing them in accordance with instructions stored in memory and generating outputs (for example on the display). Such processors are sometimes also referred to as central processing units (CPUs). Most processors are general purpose units, however, it is also know[n] to provide a specific purpose processor using an application specific integrated circuit (ASIC) or a field programmable gate array (FPGA).

18    A gaming system in the form of a standalone gaming machine is illustrated in Figure 2, as follows:

The features include a console 12 having a display 14 on which are displayed representations of a game 16 in the form of a video display unit, for example a liquid crystal display plasma screen or the like. The bank of buttons 22 enables a player to interact during game play. There is a credit input mechanism 24, and the top box 26 may carry artwork 28 with pay tables and details of bonus awards.

19    The operative components of a typical EGM are described as including a game controller containing a processor mounted on a circuit board. Instructions and data to control operation of the processor are stored in a memory, which is in data communication with the processor. Hardware meters are also included for the purposes of ensuring regulatory compliance and monitoring player credit. A random number generator module generates random numbers for use by the processor. It is said that persons skilled in the art will appreciate that the reference to random numbers includes pseudo-random numbers.

20    Reference is made to the game controller including an input/output interface for communicating with peripheral devices including displays, a touch screen, credit input and output means and a printer. The EGM may include a communications interface such as a network card which may send status information, accounting information or other information to a bonus controller, central controller, server or database and receive data or commands from one or more of these. It is said that hardware may be added or omitted as required for the specific implementation. For example, it is said that while buttons or touchscreens are typically used in gaming machines to allow a player to place a wager and initiate a play of a game, any input device that enables the player to input game play instructions may be used, such as a mechanical handle or a touchscreen displaying virtual buttons which can be “pressed” by touching the screen where they are displayed (page 6, lines 10–17).

21    The main components of an exemplary memory are then illustrated and described, including RAM, EPROM and a mass storage device.

22    In one embodiment, a server remote from the EGM implements part of the game and the EGM implements another part of the game, such that the server and EGM collectively provide a game controller. A database management server may manage storage of game programs and associated data for downloading or access by the gaming devices, referred to as a “thick client embodiment”. In a “thin client embodiment”, the remote game server implements most or all of the game and the gaming machine essentially provides only the player interface. The specification states that other client/server configurations are possible, and incorporates by reference two other patents providing further details of a client/server architecture. It is said that persons skilled in the art will appreciate that in accordance with known techniques, functionality at the server side of the network may be distributed over a plurality of different computers (page 8, lines 5–6). Under the heading, “Further details of gaming system”, the specification states (page 8, lines 15–20):

The player operates the game play mechanism 56 to specify a wager and hence the win entitlement which will be evaluated for this play of the game and initiates a play of the game. Persons skilled in the art will appreciate that a player’s win entitlement will vary from game to game dependent on player selection. In most spinning reel games, it is typical for the player’s entitlement to be affected by the amount they wager and selections they make (i.e. the nature of the wager).

23    The specification refers to Figure 6, which is shown below:

The specification states that in Figure 6, the processes 62 of game controller 60 of gaming system 1 is shown implementing a number of modules based on game program code 641 stored in memory 64. It states that persons skilled in the art will appreciate that various modules could be implemented in some other way, for instance by a dedicated circuit (page 9, lines 7–9). In that figure, block 50 is the player interface.

24    Figure 7 is a flow diagram of one embodiment, showing a sequence of steps and decisions made during the course of a base game with a feature game that may be triggered. A base game is commenced using symbols that include configurable symbols. When a trigger event occurs, such as when a certain number of configurable symbols appear on the display, a free feature game is initiated by first holding the configurable symbols in their respective display positions and the additional feature game is then run. The feature game in operation may use symbols that include the configurable symbols and symbols from the base game, or different symbols. The feature game will play until it and any additional free games are played. Prizes are accumulated throughout the play of both the base game and the feature game.

25    The primary judge described that embodiment in the following terms (PJ1 at [67] and PJ2 at [52]):

In summary, the embodiment describes the steps whereby the EGM:

(a)    holds the configurable symbols that triggered the feature game, during the rounds of the feature game;

(b)    awards the player with a predefined number of rounds of the feature game;

(c)    selects, via the symbol selector, and displays symbols for the display positions that do not currently hold a configurable symbol;

(d)    for any configurable symbols that are selected, holds them during further rounds of the feature game;

(e)    for each round of the feature game, increases or decreases the number of rounds remaining in the feature game according to whether an additional configurable symbol is displayed in that round;

(f)    checks, using the outcome evaluator (which, the evidence discloses, is software programmed to perform this function), whether the number of configurable symbols displayed has reached a predefined number to trigger a jackpot;

(g)    pays the accumulated value of the individual prizes as indicated by the variable components of the collected configurable symbols.

The primary judge said (PJ1 at [68] and PJ2 at [53]) that the steps described in (a) – (g) are performed on the EGM by the use of a computer system that is programmed to interface with the hardware and firmware elements of the gaming machine.

26    The specification provides a further example whereby, after a feature game is triggered, the game controller initiates a feature game using different reels to those used in the base game (page 15, lines 27–28). Depending on the embodiment, it is said that the trigger may be the configurable symbol trigger already described or some other trigger, for example a symbol combination. In this example, in the feature game, individual reels are associated with each of the symbol display positions, such that if there are fifteen symbol display positions, fifteen reels are used, with each of the reels comprising a mixture of non-configurable and configurable symbols.

27    The specification states that the program code in which the method may be embodied could be supplied in a number of ways, for example on a tangible computer readable storage medium, such as a disc or a memory device, or as a data signal, and different parts of the program code can be executed by different devices, for example in a client server relationship (page 16, lines l9–14).

The claims of the 967 patent

28    Claim 1 of the 967 patent, together with the integers and emphasis provided by the primary judge (at PJ1 at [69]) is as follows:

(1)    A gaming machine comprising: 

(1.1)    a display;

(1.2)    a credit input mechanism operable to establish credits on the gaming machine, the credit input mechanism including at least one of a coin input chute, a bill collector, a card reader and a ticket reader;

(1.3)    meters configured for monitoring credits established via the credit input mechanism and changes to the established credits due to play of the gaming machine, the meters including a credit meter to which credit input via the credit input mechanism is added and a win meter;

(1.4)    a random number generator;

(1.5)    a game play mechanism including a plurality of buttons configured for operation by a player to input a wager from the established credits and to initiate a play of a game; and 

(1.6)    a game controller comprising a processor and memory storing (i) game program code, and (ii) symbol data defining reels, and wherein the game controller is operable to assign prize values to configurable symbols as required during play of the game, 

(1.7)    the game controller executing the game program code stored in the memory and responsive to initiation of the play of the game with the game play mechanism to: 

(1.8)    select a plurality of symbols from a first set of reels defined by the symbol data using the random number generator;

(1.9)    control the display to display the selected symbols in a plurality of columns of display positions during play of a base game;

(1.10)    monitor play of the base game and trigger a feature game comprising free games in response to a trigger event occurring in play of the base game, 

(1.11)    conduct the free games on the display by, for each free game, (a) retaining configurable symbols on the display, (b) replacing non-configurable symbols by selecting, using the random number generator, symbols from a second set of reels defined by the symbol data for symbol positions not occupied by configurable symbols, and (c) controlling the display to display the symbols selected from the second set of reels, each of the second reels comprising a plurality of non-configurable symbols and a plurality of configurable symbols, and 

(1.12)    when the free games end, make an award of credits to the win meter or the credit meter based on a total of prize values assigned to collected configurable symbols.

29    Claims 2–5 of the 967 patent are as follows:

2.     A gaming machine as claimed in claim 1 wherein the second set of reels is the same as the first set of reels.

3.     A gaming machine as claimed in claim 1, wherein the second set of reels comprises individual reels each corresponding to an individual display position.

4.     A gaming machine as claimed in claim 3, wherein each reel of the first set of reels comprises configurable symbols and non-configurable symbols and wherein the game controller is configured to assign prize values to each displayed configurable symbol.

5.    A gaming machine as claimed in any one of claims 1 to 4, wherein the game controller is configured to increase a number of free games remaining in response to the selection of one or more additional configurable symbols in at least one of the free games.

30    On remitter, the parties agreed that the residual issues referred to in the remittal order in relation to the 967 patent concerned whether claim 5 of the 967 patent (as dependent on claims 1, 3 and 4) is a manner of manufacture (PJ2 at [6]). The primary judge recorded (at PJ2 at [131]) that the parties agreed that claim 5 of the 967 patent, when dependent on claims 1, 3 and 4 (dependent claim 5 of the 967 patent) is as follows, with integer numbers added reflecting the claims from which it is derived:

(1.0)    A gaming machine comprising:

(1.1)    a display;

(1.2)    a credit input mechanism operable to establish credits on the gaming machine, the credit input mechanism including at least one of a coin input chute, a bill collector, a card reader and a ticket reader;

(1.3)    meters configured for monitoring credits established via the credit input mechanism and changes to the established credits due to play of the gaming machine, the meters including a credit meter to which credit input via the credit input mechanism is added and a win meter;

(1.4)    a random number generator;

(1.5)    a game play mechanism including a plurality of buttons configured for operation by a player to input a wager from the established credits and to initiate a play of a game; and

(1.6)    a game controller comprising a processor and memory storing (i) game program code, and (ii) symbol data defining reels, and wherein the game controller is operable to assign prize values to configurable symbols as required during play of the game,

(1.7)    the game controller executing the game program code stored in the memory and responsive to initiation of the play of the game with the game play mechanism to:

(1.8)    select a plurality of symbols from a first set of reels defined by the symbol data using the random number generator;

(4.1)    wherein each reel of the first set of reels comprises configurable symbols and non-configurable symbols and

(4.2)    wherein the game controller is configured to assign prize values to each displayed configurable symbol.

(1.9)    control the display to display the selected symbols in a plurality of columns of display positions during play of a base game;

(1.10)    monitor play of the base game and trigger a feature game comprising free games in response to a trigger event occurring in play of the base game,

(1.11)    conduct the free games on the display by, for each free game, (a) retaining configurable symbols on the display, (b) replacing non-configurable symbols by selecting, using the random number generator, symbols from a second set of reels defined by the symbol data for symbol positions not occupied by configurable symbols, and (c) controlling the display to display the symbols selected from the second set of reels, each of the second reels comprising a plurality of non-configurable symbols and a plurality of configurable symbols, and

(3.1)    wherein the second set of reels comprises individual reels each corresponding to an individual display position.

(5.1)    wherein the game controller is configured to increase a number of free games remaining in response to the selection of one or more additional configurable symbols in at least one of the free games.

(1.12)    when the free games end, make an award of credits to the win meter or the credit meter based on a total of prize values assigned to collected configurable symbols.

The 097 patent

31    The specification for the 097 patent is substantially identical to the specification for the 967 patent with two exceptions. First, the consistory clause reflects the difference noted below in integer 1.10 of claim 1 in each of the patents. Second, the specification for the 097 patent contains additional descriptions of embodiments of the patent together with the additional Figures 11, 12A and 12B (page 14, line 17 – page 17, line 9), although the addition of that description is not material to the issues before us.

32    As to the claims in the 097 patent, integer 1.10 of claim 1 of the 967 patent is deleted and replaced with the following:

monitor play of the base game and trigger a feature game comprising free games in response to a trigger event using a Hyperlink system wherein the trigger event has a probability related to desired average turnover between successive occurrences of the trigger events on the gaming machine.

33    On remitter, the parties agreed that the residual issues referred to in the remittal order in relation to the 097 patent concerned whether claim 5 of the 097 patent (as dependent on claims 1, 3 and 4) is a manner of manufacture (PJ2 at [6]). The primary judge helpfully set out claim 5 of the 097 patent, when dependent on claims 1, 3 and 4 (dependent claim 5 of the 097 patent) as follows, with integer numbers added reflecting the claims from which it is derived (at PJ2 at [143]):

(1.0)    A gaming machine comprising:

(1.1)    a display;

(1.2)    a credit input mechanism operable to establish credits on the gaming machine, the credit input mechanism including at least one of a coin input chute, a bill collector, a card reader and a ticket reader;

(1.3)    meters configured for monitoring credits established via the credit input mechanism and changes to the established credits due to play of the gaming machine, the meters including a credit meter to which credit input via the credit input mechanism is added and a win meter;

(1.4)    a random number generator;

(1.5)    a game play mechanism including a plurality of buttons configured for operation by a player to input a wager from the established credits and to initiate a play of a game; and

(1.6)    a game controller comprising a processor and memory storing (i) game program code, and (ii) symbol data defining reels, and wherein the game controller is operable to assign prize values to configurable symbols as required during play of the game,

(1.7)    the game controller executing the game program code stored in the memory and responsive to initiation of the play of the game with the game play mechanism to:

(1.8)    select a plurality of symbols from a first set of reels defined by the symbol data using the random number generator;

(4.1)    wherein each reel of the first set of reels comprises configurable symbols and non-configurable symbols and

(4.2)    wherein the game controller is configured to assign prize values to each displayed configurable symbol.

(1.9)    control the display to display the selected symbols in a plurality of columns of display positions during play of a base game;

(1.10)    monitor play of the base game and trigger a feature game comprising free games in response to a trigger event using a Hyperlink system wherein the trigger event has a probability related to desired average turnover between successive occurrences of the trigger events on the gaming machine,

(1.11)    conduct the free games on the display by, for each free game, (a) retaining configurable symbols on the display, (b) replacing non-configurable symbols by selecting, using the random number generator, symbols from a second set of reels defined by the symbol data for symbol positions not occupied by configurable symbols, and (c) controlling the display to display the symbols selected from the second set of reels, each of the second reels comprising a plurality of non-configurable symbols and a plurality of configurable symbols, and

(3.1)    wherein the second set of reels comprises individual reels each corresponding to an individual display position.

(5.1)    wherein the game controller is configured to increase a number of free games remaining in response to the selection of one or more additional configurable symbols in at least one of the free games.

(1.12)    when the free games end, make an award of credits to the win meter or the credit meter based on a total of prize values assigned to collected configurable symbols.

The 629 patent

34    The specification for the 629 patent is substantially identical to the specification for the 097 patent, except that the consistory clause reflects the different claims made in the 629 patent. The additional material contained in the specification for the 097 patent which did not appear in the specification for the 967 patent is found in the specification for the 629 patent (page 15, line 17 – page 18, line 14).

35    The claims made in the 629 patent are as follows:

1.    A gaming machine comprising:

a credit input mechanism configured to receive a physical item representing a monetary value for establishing a credit balance, the credit balance being increasable and decreasable based on wagering activity;

a manually operable player interface configured to, in accord with the wagering activity, initiate play of a base game;

a credit meter configured to monitor the credit balance;

an electronic display having a display area, said display area having a plurality of display positions;

a memory storing data indicative of a set of symbols, including a plurality of special symbols and a plurality of normal symbols;

a symbol selector configured to randomly select, via said data from the memory, and in accord with the wagering activity and the initiated play of a base game, a plurality of symbols from the set of symbols for display via said electronic display during play of the base game;

a display controller configured to cause the display to display the selected symbols;

an outcome evaluator configured to monitor play of the base game, and to trigger a feature game in response to a first count of the special symbols being displayed having reached a predefined number of the special symbols during the base game, said feature game comprising a variable number of free games;

a free game counter configured to generate a different second count representing a number of free games remaining to be played;

and wherein said outcome evaluator is configured to end the feature game when said different second count reaches a predetermined end count;

wherein, during the feature game, the symbol selector is configured for each free game to via the electronic display and the display controller:

1)    hold at least some of the displayed special symbols appearing on the display;

2)    remove at least one of the displayed normal symbols from the display;

3)    select randomly a replacement symbol from the set of symbols to replace a removed normal symbol; and

4)    replace the removed normal symbol with the selected replacement symbol,

and wherein the outcome evaluator is configured to revise the different second count of the free game counter and increment the first count of the special symbols being displayed if the selected replacement symbol is a special symbol; and

a payout mechanism configured to provide a payout associated with the credit balance.

2.    A gaming machine according to claim 1, wherein the free game counter maintains the different second count of the number of free games to be awarded in the feature game; and wherein a predefined number of free games is initially awarded when the feature game is triggered.

3.    A gaming machine according to claim 2, wherein the free game counter is reset to the predefined number of free games initially awarded each time a special symbol is selected for display in the feature game.

4.    A gaming machine according to claim 2, wherein the free game counter is decremented each time no special symbols are selected for display in a free game.

5.    A gaming machine according to claim 1, and further comprising a special symbol counter, said special counter being incremented each time a special symbol is selected for display in the feature game, and wherein a jackpot prize is awarded when the special symbol counter counts a predefined number of special symbols.

36    On remitter, the parties agreed that the residual issues referred to in the remittal order in relation to the 629 patent concerned whether claim 5 of the 629 patent (as dependent on claim 1) is a manner of manufacture (PJ2 at [6]). The primary judge helpfully set out the terms of claim 5 of the 629 patent when dependent on claim 1 (dependent claim 5 of the 629 patent) as follows, with integer numbers added reflecting the claims from which it is derived (PJ2 at [138]):

(1.0)    A gaming machine comprising:

(1.1)    a credit input mechanism configured to receive a physical item representing a monetary value for establishing a credit balance, the credit balance being increasable and decreasable based at least on wagering activity;

(1.2)    a manually operable player interface configured to, in accord with the wagering activity, initiate play of a base game;

(1.3)    a credit meter configured to monitor the credit balance;

(1.4)    an electronic display having a display area, said display area having a plurality of display positions;

(1.5)    a memory storing data indicative of a set of symbols including a plurality of special symbols and a plurality of normal symbols;

(1.6)    a symbol selector configured to randomly select, via said data from the memory, and in accord with the wagering activity and the initiated play of a base game, a plurality of symbols from the set of symbols for display via said electronic display during play of the base game;

(1.7)    a display controller configured to cause the display to display the selected symbols;

(1.8)    an outcome evaluator configured to monitor play of the base game, and to trigger a feature game in response to a first count of the special symbols being displayed having reached a predefined number of the special symbols during the base game, said feature game comprising a variable number of free games;

(1.9)    a free game counter configured to generate a different second count representing a number of free games remaining to be played; and

(1.10)    wherein said outcome evaluator is configured to end the feature game when said different second count reaches a predetermined end count;

(1.11)    wherein, during the feature game, the symbol selector is configured for each free game to via the electronic display and the display controller (1) hold at least some of the displayed special symbols appearing on the display; (2) remove at least one of the displayed normal symbols from the display; (3) select randomly a replacement symbol from the setoff symbols to replace a removed normal symbol; and (4) replace the removed normal symbol with the selected replacement symbol, and

(5.1)    a special symbol counter, said special symbol counter being incremented each time a special symbol is selected for display in the feature game, and wherein a jackpot prize is awarded when the special symbol counter counts a predefined number of special symbols;

(1.12)    wherein the outcome evaluator is configured to revise the different second count of the free game counter and increment the first count of the special symbols being displayed if the selected replacement symbol is a special symbol; and

(1.13)    a payout mechanism configured to provide a payout associated with the credit balance.

The 098 patent

37    The specification for the 098 patent is substantially identical to the specification for the 097 patent, with the exception of the consistory clause which is drafted to reflect the different way in which the claims are expressed in the 098 patent. The new material which was added in the 097 patent specification, but which had not been included in the 967 patent specification is also included (page 14, line 1 – page 16, line 41).

38    The claims in the 098 patent are expressed as follows:

1.    A gaming machine comprising:

a credit input mechanism configured to receive a physical item representing a monetary value for establishing a credit balance, the credit balance being increasable and decreasable based at least on wagering activity;

a credit meter configured to monitor the credit balance;

a manually operable player interface configured to, in accord with the wagering activity, initiate play of a base game;

an electronic display having a display area, said display area having a plurality of display positions;

a memory storing data indicative of a set of symbols including a plurality of symbols having a particular characteristic;

an evaluator configured to monitor the occurrence of a trigger event, and to trigger a feature game in response to the occurrence of a trigger event, said feature game comprising a variable number of free games;

a free game counter configured to generate a count representing a number of free games remaining to be played;

and wherein said evaluator is configured to revise said free game counter upon the occurrence of a defined outcome of a free game and to end the feature game when said count reaches a predetermined end count;

wherein during the feature game, the symbol selector is configured for each free game to:

1)    hold at least some of the displayed symbols, having the particular characteristic appearing on the display;

2)    remove at least one of the displayed symbols without the particular characteristic from the display;

3)    select randomly a replacement symbol from the set of symbols to replace a removed symbol without the particular characteristic; and

4)    replace the removed said one of the displayed symbols without the particular characteristic with the selected replacement symbol, and

wherein the outcome evaluator is configured to revise the count of the free game counter based on the selected replacement symbol in the outcome of a free game having said particular characteristic and including resetting the count of the free game counter.

2.    A gaming machine according to claim 1, wherein the free game counter maintains

the count of free games to be awarded in the feature game, and wherein a predefined number of free games is initially awarded when the feature game is triggered.

3.    A gaming machine according to claim 1, wherein said outcome evaluator is

configured to reset the count of the free game counter based on said another symbol having said particular characteristic.

4.    A gaming machine according to claim 1, wherein said counter is reset to a

predefined number of free games.

5.    A gaming machine according to claim 1, wherein the free game counter is

decremented each time the outcome of a free game does not have said another symbol with said particular characteristic.

39    On remitter, the primary judge noted that the 098 patent was not the subject of separate submissions by the parties (PJ2 at [7]).

The reasons in PJ1

40    The primary judge recorded the agreement between the parties that the specification of the 967 patent is sufficiently similar to the specifications of the other patents for the 967 patent to be used for the purpose of analysis, and the further agreement that if claim 1 of the 967 patent is a manner of manufacture, then so too are the rest of the claims in all of the patents in suit: PJ1 at [8]. Given the conclusion reached by the primary judge, it was not necessary to consider any claim other than claim 1 of the 967 patent: at [9].

41    The primary judge referred (at [83]) to s 18(1A)(a) of the Patents Act as providing that an invention is a patentable invention for the purposes of an innovation patent if the invention, so far as claimed in any claim:

is a manner of manufacture within the meaning of section 6 of the Statute of Monopolies.

His Honour said (at [84]) that the other requirements of s 18(1A) of novelty, innovative step, usefulness and that there be no secret use before the priority date are not relevant and are for present purposes to be assumed, citing CCOM Pty Ltd v Jeijing Pty Ltd (1994) 51 FCR 260 (CCOM) at 291 (Spender, Gummow and Heerey JJ). Thus, as the Full Court said in CCOM at 291, whilst a claim for a ballpoint pen would fail for anticipation and inventive step, it would still be a claim for a manner of manufacture: at [84].

42    The primary judge said that the task of construing the specification involves arriving at a characterisation of the invention claimed in order to determine whether or not it is in substance for a manner of manufacture: at [87]. At [89], the primary judge referred to a number of cases in which the question for consideration was whether or not a mere scheme or plan was nonetheless a manner of manufacture because invention lay not only in the scheme or plan, but also the means by which it was realised using computerisation: Commissioner of Patents v Rokt Pte Ltd [2020] FCAFC 86; (2020) 277 FCR 267 (Rokt); Grant v Commissioner of Patents [2006] FCAFC 120; (2006) 154 FCR 62 (Grant); Research Affiliates LLC v Commissioner of Patents [2014] FCAFC 150; (2014) 227 FCR 378 (Research Affiliates); Commissioner of Patents v RPL Central Pty Ltd [2015] FCAFC 177; (2015) 238 FCR 27 (RPL Central); Encompass Corporation Pty Ltd v Infotrack Pty Ltd [2019] FCAFC 161; (2019) 372 ALR 646 (Encompass); and Watson v Commissioner of Patents [2020] FCAFC 56; (2020) 150 IPR 207.

43    The primary judge then said (at [91]) that the reasoning in those cases involves an initial question of whether the claimed invention is for a mere scheme or business method of the type that is not the proper subject matter of a grant of letters patent. His Honour said that, once that question is answered in the affirmative, the subsequent enquiry becomes whether the computer-implemented method is one where invention lay in the computerisation of the method, or whether the language of the claim involves merely plugging an unpatentable scheme into a computer. The primary judge said that the second enquiry requires consideration of whether the invention claimed involves the creation of an artificial state of affairs where the computer is integral to the invention, rather than a mere tool in which the invention is performed. His Honour said that the second enquiry had spawned investigations in the cases to identify whether the contribution of the claimed invention is “technical in nature” or whether it solves a “technical” problem, or whether it merely requires “generic” computer implementation. However, in his Honour’s view, it was not necessary in the present case to consider those matters because the initial question should be answered in the negative: at [91].

44    The primary judge said that, central to Encompass, Rokt, Grant, Research Affiliates and RPL Central was the finding that after close examination of the specification and the claims in issue, the invention as disclosed and claimed was no more than a scheme or mere idea: at [94]. In the present case, however, the primary judge concluded that the invention described and claimed, when understood as a matter of substance, was not to a mere scheme or plan, but rather was to a mechanism of a particular construction, the operation of which involves a combination of physical parts and software to produce a particular outcome in the form of an EGM that functions in a particular way: at [95]. Accordingly, the primary judge said that it was unnecessary to consider the second enquiry: at [95].

45    The primary judge said that the invention as claimed has hardware, firmware and software components that were identified, and that the EGM is a physical device of a type that is played by those wishing to make a wager: at [96]. The primary judge described the specific components as including a display (integer 1.1) that must be able to show reels (integer 1.6(ii)), a credit input mechanism (integer 1.2) and meters (integer 1.3) recording the receipt of credits and recording wins and awarding prizes at the end of the game (integer 1.12), a gameplay mechanism with various buttons (integer 1.5), and a game controller comprising a processor and memory that stores software in the form of the game program code and symbol data defining the reels (integer 1.6), and having the functionality described in integers 1.7–1.11. The primary judge also referred to expert evidence to the effect that the skilled reader understands upon reading the specification that EGMs are subject to regulatory supervision which imposes various physical requirements on all EGMs: at [97].

46    The primary judge then expressed the following conclusion on the issue of characterisation (at [98]):

The result is that to the person skilled in the art, the invention may be characterised as a machine of a particular construction which implements a gaming function. It yields a practical and useful result. Simply put, the machine that is the subject of the claims is built to allow people to play games on it. That is its only purpose. In this regard, the physical and virtual features of the display, reels, credit input mechanism, gameplay mechanism and game controller combine to produce the invention. It is a device of a specific character.

The primary judge expressly disagreed with the approach to the characterisation of the invention taken by the Commissioner, insofar as that involved first identifying the “inventive concept” and then utilising that concept to conclude that the invention is a mere scheme: at [99]. The primary judge said that there was a danger of denuding an invention of patentability by prematurely discounting elements of the claim, in that any claim can be stripped back to remove all specific limitations so that at its core an abstract idea emerges; however, where the abstract idea is incorporated into a means for carrying it out, it may result in a manner of manufacture: at [101].

47    Further, the primary judge referred to the Commissioner’s acceptance of the proposition that if the EGM of claim 1 in the 967 patent were to have been implemented mechanically with cogs, physical reels and motors to create the gameplay, there is no doubt that it would be a manner of manufacture, and added that it is difficult to see why the development of an implementation of an EGM that utilises the efficiencies of electronic technology would be disqualified from patent eligibility when the old-fashioned mechanical technology was not: at [102]. His Honour said that such an approach would be antithetical to the encouragement of invention and innovation: at [102]. The primary judge also referred to the decision of Nicholas J in Aristocrat Technologies Australia Pty Ltd v Konami Australia Pty Ltd [2015] FCA 735; (2015) 114 IPR 28 (Konami) at [223]–[224], which his Honour regarded as concerning a similar EGM, to the effect that the invention claimed was not a mere idea but a new and useful gaming machine and new and useful methods of operation producing new and improved results, and therefore was a manner of manufacture.

The reasons of the Full Court

The majority decision

48    In the majority decision, it was observed that the only inventive aspect of claim 1’s EGM was its feature game, and that it was in all other respects an unremarkable EGM: majority decision at [3]. The feature game was said to be provided for only by integer 1.11, although it was said to be useful to consider the feature game to be constituted by all of integers 1.10–1.12: at [10]. Integers 1.10–1.12 could be implemented in an infinite number of ways because a large number of rules were left wholly unspecified: at [13]. Their Honours said that the feature game defined by integers 1.10–1.12 may be seen either as a definition of a family of games with common attributes and akin therefore to the rules of the game, or as a method for increasing player interest in an EGM and hence for increasing revenue to the operator: at [14]. On either view, Middleton and Perram JJ said that integers 1.10–1.12 were an abstract idea: at [15].

49    The majority decision then stated that the prohibition on patents being granted in respect of ideas of this kind does not extend to inventions which physically embody an abstract idea by giving it some practical application: at [16]. The majority decision criticised the primary judge’s two-step approach, saying that it had the potential to convert the overarching inquiry as to whether the invention was patentable subject matter into a single question whether the invention was not a scheme: at [25].

50    Under the heading “Proposed alternative approach”, Middleton and Perram JJ said the following (at [26]–[27]):

In cases such as the present we would therefore respectfully favour the posing of these two questions in lieu of those advanced by the primary judge:

(a)     Is the invention claimed a computer-implemented invention?

(b)     If so, can the invention claimed broadly be described as an advance in computer technology?

If the answer to (b) is no, the invention is not patentable subject matter. Of course if the answer to (a) is no, one must then consider the general principles of patentability.

51    As to question (a), Middleton and Perram JJ gave the answer that the invention in claim 1 of the 967 patent is a computer-implemented invention: at [30]. That was said to follow from the proposition that an EGM is a computer, and the invention claimed in claim 1 is an invention consisting of the feature game in integers 1.10–1.12 implemented on the particular kind of computer which is an EGM. The majority decision emphasised that the invention disclosed by claim 1 differs from all other EGMs only by the feature game called for by integers 1.10–1.12, and thus it is said to be apparent that the invention disclosed by claim 1 is a computer implementation of the feature game in integers 1.10–1.12 where the computer in question is an EGM: at [31].

52    As to question (b), Middleton and Perram JJ said that the fact that integers 1.10–1.12 leave it entirely up to the person designing the EGM to do the programming which gives effect to the family of games which those integers define inevitably necessitates the conclusion that claim 1 of the 967 patent pertains only to the use of a computer, noting that claim 1 is silent on the topic of computer technology beyond that the person implementing the invention should use some: at [63]. Their Honours said that it was not to the point that the invention improves player engagement or increases subjective satisfaction: at [64]. Further, Middleton and Perram JJ said that changes in the reel structure (in claim 3 of the 967 patent) and the idea of configurable symbols may constitute advances in gaming technology but they are not advances in computer technology: at [65].

53    Accordingly, the majority decision was that the invention claimed in claim 1 of the 967 patent was not a patentable invention, although their Honours granted leave to appeal under s 158(2) of the Patents Act because the question which arises is a significant one.

54    A question then arose as to the disposition of Aristocrat’s notice of contention and whether it was appropriate that the matter be remitted. The notice of contention asserted that even if the primary judge was wrong to adopt his Honour’s two-step approach, or wrong to conclude that claim 1 was not a mere scheme, nonetheless the invention may be found to disclose patentable subject matter, including because it is technical in nature and solves technical problems in, and involves technical and functional improvements to, the operation of EGMs. The majority decision held that the Full Court was not in a position to decide the notice of contention in view of the lack of much of the relevant evidentiary material in the appeal papers, and said that the remitter had nothing to do with the merits of the notice of contention: at [96]. The majority decision held that it was appropriate that the matter be remitted to the primary judge to determine any residual issues in light of the Full Court’s reasons including any issues which concern the position of claims other than claim 1: at [97].

The minority decision

55    The minority decision of Nicholas J did not follow the two-step proposed alternative approach in the majority decision, and indeed proceeded on the basis that it was not appropriate to adopt an excessively rigid or formulaic approach to the question whether a computer-implemented scheme is a manner of manufacture: minority decision at [116]. Justice Nicholas said that that was especially true in situations where there may be no clear distinction between the field to which the invention belongs, and the field of computer technology, saying that there may well be a technological innovation in the field of technology to which the invention belongs even though it cannot be said that there has been some technological innovation in the field of computers: at [116]. The fact that a solution to a technical problem in a field other than that of computers may rely upon generic computing technology for its implementation does not necessarily render such a solution unpatentable: at [116].

56    According to the minority decision, for the purpose of determining whether the invention produces the artificially created state of affairs referred to in National Research Development Corporation v Commissioner of Patents [1959] HCA 67; (1959) 102 CLR 252 (NRDC) at 277, it will often be useful to ask whether the invention solves a technical problem or makes some other technical contribution to the field of the invention: at [117]. In particular, Nicholas J said (at [117]) that it may be useful to consider whether the invention solves a technical problem including one that exists “outside the computer”, whether the computer is utilised to produce “an unusual technical effect” or whether there is some ingenuity in the way in which the computer is utilised, citing RPL Central at [99], [104] and [109]. His Honour noted that mere business schemes, and abstract ideas or information, have never been regarded as sufficiently tangible in character to constitute patentable subject matter, and that implementing the scheme, idea or information in a generic computer, utilising its well-known and well-understood functionality, does not change its fundamental character: at [118]. However, once a scheme is given practical effect and transformed into a new product or process which solves a technical problem, or makes some other technical contribution in the field of the invention, it may no longer be considered a scheme: at [118].

57    The minority decision stated (at [119]):

Ultimately, the question is whether what may have begun as a mere scheme, an abstract idea or mere information, has been transformed in some definite and tangible way so as to result in a product or method providing the required artificial effect. There must be some technical contribution either in the field of computer technology (eg. an improvement in processor, memory or display technology) or in some other field of technology to which the invention belongs. As the authorities to which I have referred to [sic] make clear, that transformation is unlikely to be achieved by taking an inherently unpatentable scheme and implementing it utilising generic computer technology for its well-known and well-understood functionality that does not involve any ingenuity in the way in which the computer is utilised.

In the case of EGMs, Nicholas J said that patentable subject matter may be found to exist in a way in which a gaming system or machine functions even though a computer engineer may not consider that there has been any advance in the field of computer technology: at [120]. His Honour’s own decision in Konami was treated as a case in which a gaming machine or gaming system that provided a technical solution to a practical problem in the field of gaming technology was proper subject matter of a patent.

58    As to the 967 patent itself, Nicholas J said that the specification does not identify any specific problem to which the invention is directed or which the invention is said to provide a solution; rather, the invention is directed to providing a more enjoyable experience for the player, which may advantage the operator of the gaming machines by encouraging game play and thereby increasing the operator’s revenue: at [126]. His Honour referred to expert evidence that indicated that the configurable symbols, and in particular the presentation of prize values on their face, significantly enhanced user experience by allowing a player to visualise in real time potential rewards as play progressed towards the feature game: at [133]. The expert witnesses all gave evidence to the effect that they were not aware of configurable symbols with variable awards displayed over or on the symbol having been used in EGMs before the priority date: at [133]–[134].

59    The minority decision regarded it as appropriate to grant leave to appeal, criticising the primary judge’s two-step approach to the manner of manufacture issue for not engaging with the Commissioner’s submission that the invention as described and claimed was in substance a mere scheme or set of rules for playing a game implemented using generic computer technology for its well-known and well-understood functions: at [135].

60    The minority decision referred to claim 1 as describing an EGM consisting of physical components that are common to such machines, and said that the specification makes clear that the invention is for a gaming machine or gaming system which seeks to enhance player enjoyment by offering a feature game that may be triggered during play of the base game: at [136]. Nothing about the description of the physical components of the machine, or its capacity to trigger a feature game, is new: at [137]. The EGM described and claimed was said to be either a computer or an apparatus that incorporates a computer, and the substance of the invention resides in the game program code which embodies a computer-implemented scheme or set of rules for the playing of a game: at [138].

61    The question was then said to be whether there is anything about the way in which the game code causes the EGM to operate which can be regarded as having transformed what might otherwise be regarded as purely abstract information encoded in memory into something possessing the required artificial effect: at [140]. The minority decision stated that the specification does not identify any technological problem to which the patent purports to provide a solution, and nor did the expert evidence suggest that the invention described and claimed in the specification was directed to any technical problem in the field of gaming machines or gaming systems: at [141]. Rather, the minority decision held that the purpose of the invention is to create a new game that includes a feature game giving players the opportunity to win prizes that could not be won in the base game: at [141]. The purpose of the invention is to provide players with a different and more enjoyable playing experience, and the invention is not directed to a technological problem residing either inside or outside the computer: at [141].

62    The minority decision then considered the question whether the gaming machine described and claimed might be regarded as exhibiting an unusual technical effect due to the way in which the computer is utilised: at [142]. It was observed that the primary judge did not make any specific findings in relation to the use of configurable symbols and whether they were capable of amounting to a technological innovation, and there may well be ways in which the computer could be utilised that adds to the attractiveness of the game through the use of unconventional technical methods or techniques which might themselves give rise to patentable subject matter: at [142]. The minority decision referred to the extent to which the use of configurable symbols might amount to a technical contribution to the field of gaming technology as having been hardly touched on in oral argument before the Full Court, and referred to Senior Counsel for Aristocrat informing the Full Court that he did not consider that all of the evidentiary material relevant to that question was before the Full Court: at [143]. The minority decision regarded it as appropriate to remit the proceedings to the primary judge to consider whether claim 1 of the 967 patent, or any of the other claims in issue, is a manner of manufacture on the basis that it involves technical and functional improvements to EGMs through the use of configurable symbols of the kind more fully described in the specification: at [144]. However, Nicholas J agreed with the orders proposed by Middleton and Perram JJ, which included the remittal order formulated by the majority decision: at [144].

The reasons of the High Court

The dismissing reasons

63    The dismissing reasons of Kiefel CJ, Gageler and Keane JJ treated NRDC as standing for the proposition that the terminology of “manner of manufacture” taken from s 6 of the Statute of Monopolies is to be treated as a concept for case-by-case development, applied in accordance with common law methodology, and was therefore not to be confined to the use of any verbal formula in lieu of “manner of manufacture”, such as “an artificially created state of affairs” as used in NRDC at 277: dismissing reasons at [23]. The dismissing reasons reviewed a number of Full Court decisions, beginning with CCOM, which concerned a claim for an invention which enabled a standard English keyboard to be used to generate Chinese characters for word processing purposes. Their Honours referred to the Full Court’s finding in CCOM that the claimed invention was capable of being a manner of manufacture because it was concerned with a mode or manner of achieving an end result which was an “artificially created state of affairs of utility in the field of economic endeavour”, that field being the use of word processing to assemble text in Chinese characters (CCOM at 295): at [26]. This was a “physically observable effect”, and the dismissing reasons said that there is no issue that CCOM, as so explained, was correctly decided: at [27]–[28]. By way of contrast, the dismissing reasons referred to Research Affiliates, Encompass, Rokt and Grant as relating to claimed inventions which were not patentable subject matter: at [29]–[30].

64    As to what is involved in an alleged manner of “new” manufacture within s 6 of the Statute of Monopolies, the dismissing reasons said that the threshold requirement of an alleged invention will remain unsatisfied if it is apparent on the face of the relevant specification that the subject matter of the claim is, by reason of absence of the necessary quality of inventiveness, not a manner of new manufacture for the purposes of the Statute of Monopolies: at [68]. The threshold requirement of “an alleged invention” does not correspond with or render otiose the more specific requirements of novelty and inventive step (when compared with the prior art base) contained in s 18(1)(b), but simply means that, if it is apparent on the face of the specification that the quality of inventiveness necessary for there to be a proper subject of letters patent under the Statute of Monopolies is absent, one need go no further: at [68].

65    The dismissing reasons then turned to the question of characterising the claimed invention in the present case by reference to the terms of the specification having regard to the substance of the claim and in light of the common general knowledge: at [73]. Their Honours said the following (at [73]):

In the absence of a claim to some variation of or adjustment to generic computer technology to give effect to, or accommodate the needs of, the new game, there is no reason to characterise the claimed invention as other than a claim for a new system or method of gaming: it is only in relation to the feature game that the invention is claimed to subsist.

66    The dismissing reasons said that unlike CCOM, the present cannot be said to fall within a category of cases in which, as an element of the invention, “there [is] a component that [is] physically affected or a change in state or information in a part of a machine”, citing Grant at [32]: at [74]. Their Honours concluded that all members of the Full Court in the present case were right to conclude that the subject matter of Aristocrat’s claim is not patentable subject matter.

67    The dismissing reasons said that neither the primary judge nor the Full Court made any finding that any of the integers of claim 1 addressed the exigencies of the physical presentation of the operation of the game devised by Aristocrat, and it is not apparent from the terms of the specification of the 967 patent or claim 1 itself that there is a basis for such a finding (an apparent reference to the notice of contention which the Full Court did not entertain): at [76]. The dismissing reasons said that in the absence of such a finding, there is no basis for concluding that the claimed invention is patentable subject matter, and it is no more than an unpatentable game operated by a wholly conventional computer, using technology which has not been adapted in any way to accommodate the exigencies of the game or in any other way: at [76].

68    The dismissing reasons then criticised the two-step analysis proposed by the majority decision as unnecessarily complicating the analysis of the crucial issue: at [77]. The crucial issue was said to be as to the characterisation of the invention by reference to the terms of the specification, having regard to the claim and in light of common general knowledge. Their Honours said that it is not apparent in the present case that asking whether the claimed invention is an advance in computer technology as opposed to gaming technology, or indeed is any advance in technology at all, is either necessary or helpful in addressing that issue: at [77]. The issue was said not to be one of an “advance” in the sense of inventiveness or novelty, but whether the implementation of what is otherwise an unpatentable idea or plan or game involves some adaptation or alteration of, or addition to, technology otherwise well-known in common general knowledge to accommodate the exigencies of the new idea or plan or game.

69    The dismissing reasons then described the suggestion by the majority decision that the claimed invention may be an advance in gaming technology but not an advance in computer technology as “an unnecessary flourish”: at [78]. That was said not to be because an advance in gaming technology could not be patentable subject matter, because there is no reason to conclude from the terms of claim 1 of the 967 patent that it was claiming an advance in gaming technology other than the use of a generic computer to play its new game: at [78]. The dismissing reasons said that it was also neither necessary nor appropriate to speak of advances in gaming technology where one is concerned with a claimed invention that discloses no adaptation or alteration of, or addition to, apparatus well-known in common general knowledge in order to accommodate the exigencies of the new idea: at [78]. Their Honours said that a new idea implemented using old technology is simply not patentable subject matter: at [78]. Their Honours then said that there was no occasion for the Full Court to consider remitting the proceeding to the primary judge to enable findings to be made as to whether the claimed invention made any technical contribution to the common general knowledge of computerised gaming, and thus Nicholas J had no sufficient reason to think that the remitter which his Honour proposed was necessary or appropriate: at [78].

70    As to the significance of the configurable symbols, the dismissing reasons said that claim 1 does not disclose that the configurable symbols somehow facilitate the implementation of the game by the EGM in any way different from a generic EGM: at [79]. The dismissing reasons also said that there is nothing disclosed in the claim in the specification to suggest that the configurable symbols have any function or physical presentation that differentiates the claimed invention from a generic EGM: at [80].

The allowing reasons

71    The allowing reasons began by describing the patents in suit as concerning various embodiments of an EGM, including one that incorporated a standard player interface integrated with, and governed by, the hardware and software of an electronic game controller which included feature games and configurable symbols: at [95]. Their Honours then referred to the concession made before the primary judge (and not revoked before the Full Court or the High Court) whereby the Commissioner accepted that if the relevant claim had involved a mechanical implementation “using cogs, physical reels and motors to create the gameplay”, then there would have been no doubt that the relevant claim was a manner of manufacture: at [96]. Their Honours then said that in the 21st century, a law such as s 18(1A) of the Patents Act, that is designed to encourage invention and innovation, should not lead to a different conclusion where physical cogs, reels, and motors are replaced by complex software and hardware that generate digital images: at [97]. The allowing reasons said that the Commissioner attempted to avoid such a curious result by re-characterising Aristocrat’s claim as a mere scheme or abstract idea, but that characterisation could be achieved only by filleting from the claim essential and interdependent integers providing for the implementation of the game on the EGM (the integers stripped from the Commissioner’s characterisation including components as basic as the display component of the player interface on which the images of symbols generated by the software and hardware appeared): at [97].

72    The allowing reasons said that the starting point for any assessment of whether the requirements of s 18(1) or (1A) are satisfied is characterisation of the relevant claim: at [101]. The characterisation of the claim must be undertaken as a matter of substance, not mere form: at [102]. Importantly, the allowing reasons said that the characterisation of the claim requires consideration of all of the integers of the claim in light of the relevant facts and matters in the specification: at [102]. Their Honours said that the risk of artificially characterising a claim is particularly pronounced where the claim contains interdependent integers, noting that the claim in the present case did not assert a monopoly in any single integer but relied upon the full description of the alleged invention as a combination patent: at [104].

73    The allowing reasons then dealt with the threshold requirement for “an alleged invention” and held that that threshold requirement is to be assessed by reference to the face of the claim in the context of the specification: at [108]–[110]. The threshold was described as low, and imposed a less stringent requirement than the independent requirements of novelty and inventiveness in subs 18(1)(b)(i) and (ii): at [111].

74    As to the meaning of “manner of manufacture”, the allowing reasons said that the term had long extended beyond the etymology of “manufacture” to include new processes in any art that produce effects that are useful to the public: at [113]. Their Honours said that a manner of manufacture thus requires only the existence of some material and artificial advantage, citing the watershed decision in NRDC at 275: at [114]. In NRDC, it was held that there was a manner of manufacture in the application of known chemicals to rid crop areas of certain weeds, because in that new use of existing products, there was an artificially created state of affairs with a useful result: at [115].

75    The allowing reasons referred to it being well established that a mere scheme or plan, or any other merely intellectual endeavour, cannot be the subject matter of a patent: at [116]. However, it is equally well established that one way in which a mere method will become a manner of manufacture is when it is practised or used in a way that is embodied in a physical form: at [117]. That reasoning was said to apply equally where the idea consists of the rules of a game: at [118]. The allowing reasons then said that in the 21st century, it would be absurd if the application of that principle were any different where the idea of the game is combined with a digital representation rather than a cardboard representation of the game: at [119]. At [119], their Honours cited Grant (at [32]) to the effect that the requirement of a “physical effect” includes “a concrete effect or phenomenon” and extends to “a change in state or information in a part of a machine”.

76    The allowing reasons then referred to numerous examples where the proper characterisation of the claim is one that merely involves the use of the machine to manipulate an abstract idea, rather than involving the implementation of the idea on a machine to produce an artificial state of affairs and a useful result, citing Grant, Research Affiliates, RPL Central, Encompass, and Rokt: at [121]. Their Honours said that the results in all of those cases are plainly correct, although some of the statements explaining the results in those and other cases must be read in the context of what was being decided: at [122]. For example, one expression of the characterisation question in some of the cases was said to be whether the implementation of the scheme could be described as “an improvement in computer technology”, but a better way of expressing the point in such cases was said to be to ask whether, properly characterised, the subject matter that is alleged to be patentable is: (i) an abstract idea which is manipulated on a computer; or (ii) an abstract idea which is implemented on a computer to produce an artificial state of affairs and a useful result: at [122]. Their Honours said that the artificial state of affairs and useful result may be a physical change in something, but need not be, and similarly, the artificial state of affairs may be an improvement in computer technology, but it need not be: at [122]. The allowing reasons said that it is enough that the artificial state of affairs and useful result are created by the way in which the method is carried out in the computer: at [122]. Further, the allowing reasons said that the method of carrying out the idea in the computer, and the artificial state of affairs and useful result, need not be inventive or ingenious, in that the ingenuity may lie only in the idea but, when the idea is applied to produce an artificial state of affairs and a useful result, there will be a manner of manufacture: at [123].

77    The allowing reasons then contrasted the invention in CCOM with the examples of cases in which a computer was merely used to manipulate an abstract idea: at [124]. In CCOM, the Full Court held a claim to be the proper subject matter of a patent where it was characterised as one that enabled, through the operation of a computer keyboard, the selection of Chinese characters for word processing, that being an invention that implemented changes to the hardware and software of a computer in carrying out the idea, and was not merely the use of a computer to manipulate the abstract idea: at [124]. The allowing reasons said that the Full Court correctly held that it was not necessary that there be anything new and unconventional in computer use: at [124].

78    The allowing reasons reviewed in detail the integers of claim 1 of the 967 patent and the specification (at [130]–[136]), and said that two important elements of the claim, as described in the specification, are the configurable symbols and the feature games, which are part of the game controller: at [137]. Their Honours referred to expert evidence that the configurable symbols, particularly the prize values overlaid on them, are a significant enhancement of a player’s experience: at [137]. The allowing reasons observed that the configurable symbols and the feature games require implementation in the EGM, and in the operation of the EGM they interact with, and are entirely dependent upon, other integers of the claim, especially the physical integers, and they are inextricably connected with the player interface: at [137].

79    The allowing reasons dealt with the proper characterisation of claim 1 of the 967 patent (at [145]–[149]), having earlier observed (at [141]) that the critical issue was the proper characterisation of the invention based upon the construction of claim 1. The allowing reasons referred to it being common ground that integers 1.1–1.6 were, as a matter of common general knowledge, components of generic EGMs: at [145]. However, to characterise the proposed invention by focusing exclusively upon those integers would be artificially generalised and would entirely ignore the integers of claim 1 that provide its alleged novelty and inventiveness; in particular, core features of the game controller in integers 1.7–1.12, including the configurable symbols and feature games, were not part of common general knowledge: at [146]. At the other extreme of characterisation which is artificially specific, the allowing reasons said that characterising claim 1 by reference only to those elements that are deduced from the specification to involve alleged novelty and inventiveness would entirely ignore other elements of the game controller and the whole of the player interface which is interdependent with the game controller: at [147]. Their Honours said that characterisation at the proper level of generality involves an exercise of judgment with regard to all of the integers in the claim: [149]. The allowing reasons refer to each of the characterisations of the primary judge, and of the majority and minority reasons in the Full Court as being reasonable, and as including the elements involved in both the game controller and the player interface: at [149]. Their Honours then said the following (at [149]):

However, given the emphasis upon both the feature game and the configurable symbols in the specification, the best characterisation of Claim 1 is: an EGM incorporating an interdependent player interface and a game controller which includes feature games and configurable symbols.

80    The allowing reasons then turn to the question whether claim 1, as properly characterised, is patentable subject matter. Their Honours said that the proper approach to assessing whether a manner of manufacture exists is that which was enunciated in NRDC, the only question being whether there is a manner of manufacture within s 6 of the Statute of Monopolies: at [151]. Their Honours said that the focus of that question commonly leads to enquiries such as: whether the process or product is part of the useful arts rather than the fine or intellectual arts; whether there is an artificially created state of affairs with a useful result including a result of economic significance; and whether the subject matter of a claim is no more than a mere intellectual idea, scheme, or game: at [151].

81    The allowing reasons said that the question of whether a claim, as properly characterised, is the proper subject matter of a patent should not be deconstructed to require, separately from the general principles of patentability, consideration of whether the subject matter is “computer-implemented”: at [152]. That statement appears to be a direct rejection of the proposed alternative approach of the majority decision in the Full Court. The allowing reasons said that, although modern computers could not have been in the mind of anyone in the Jacobean era of the Statute of Monopolies, the implementation of a scheme or idea on a computer to create an artificial digital state of affairs should not be treated any differently from the implementation of a scheme or idea by any other machine to create an artificial physical state of affairs: at [153]. The allowing reasons referred to the language used in NRDC, that the implementation of the scheme or idea must create an artificial state of affairs and a useful result.

82    The allowing reasons concluded that claim 1, characterised in light of the specification as a whole, is a manner of manufacture within s 6 of the Statute of Monopolies: at [154]. Their Honours reiterated the proper characterisation of claim 1, as an EGM incorporating an interdependent player interface and a game controller which includes feature games and configurable symbols, and said that that is not merely the idea of a game incorporated into a game controller without any novelty or inventiveness: at [154]. Their Honours said that the game controller, which includes feature games and configurable symbols, has been assumed at all stages of the litigation to meet the threshold requirements for an alleged invention: at [154]. The allowing reasons said that, on its proper characterisation, claim 1 is not a scheme or idea for a game that is separate from the external or artificial application of that game, and the operation of the game controller cannot be severed from the interdependent player interface in the EGM: at [154]. The claimed operation of the game controller, displayed through the player interface, was described as an altered EGM involving an artificial state of affairs and a useful result amounting to a manner of manufacture: at [154].

The reasons in PJ2

83    In light of the three-all draw in the High Court, s 23(2)(a) of the Judiciary Act was invoked, and the primary judge then dealt with the matter pursuant to the remittal order made by the Full Court. The primary judge recorded that, on remitter, the parties agreed that the residual issues identified concerned whether dependent claim 5 of the 967 patent, dependent claim 5 of the 097 patent, and dependent claim 5 of the 629 patent are a manner of manufacture (together, the residual claims): at [6]. The parties agreed that if none of the residual claims were found to be for an invention that is a manner of manufacture, then none of the claims of the 967 patent, 629 patent, 097 patent and the 098 patent (the last of them not having been the subject of separate submissions by the parties) will satisfy the requirements of s 18(1A)(a) of the Patents Act: at [7]. The primary judge indicated that, for the reasons set out in PJ2, his Honour had concluded that in determining the residual issues in light of the Full Court’s reasoning, his Honour was obliged to conclude that none of the residual claims is a manner of manufacture: at [12].

84    The primary judge reviewed in detail the agreed common general knowledge, the specification of the 967 patent, and the reasons of the Full Court and the High Court: at [13]–[101].

85    The primary judge then dealt with Aristocrat’s contention that the operation of s 23(2)(a) of the Judiciary Act left it open to the Court on remitter to apply the allowing reasons of the High Court in considering the residual claims, and also that the Court should make findings on remitter going to the “technical contribution” made in the residual claims based on the evidence led at the trial. The primary judge did not consider that either course was open: at [102].

86    The primary judge said that the decision of the High Court does not create any binding precedent because only unanimous or majority decisions of that Court have binding authority: at [105]. The primary judge said that the language of s 23(2)(a) is plain in its terms, and the decision of the Full Court in the present case had been “affirmed”: at [109]. His Honour said that the result of the application of s 23(2)(a) is that the decision of the Full Court remains in place: at [110]. The primary judge then said that the orders of the Full Court are to be understood in light of the reasons given, and those orders and the reasons for them bound him as a single judge: at [110].

87    The primary judge then said that the language of the remittal order, which gives effect to the decision of the Full Court, further reinforces that conclusion, as it requires that the primary judge determine the residual issues “in light of the Full Court’s reasons, including any issues which concern the position of claims other than claim 1”: at [111]. The primary judge said that the language is unequivocal, and calls for the determination of the question of the manner of manufacture of the residual claims by having regard to the reasoning of the Full Court: at [111]. The primary judge said that the consequence of those two matters is that, even if his Honour were disposed to consider that a relevant principle of law emerged from the decision of the High Court, by virtue of the operative language of s 23(2)(a) and the remittal order, his Honour was not permitted the latitude that might apply to other courts to discern from the High Court decision a relevant binding principle: at [112]. The primary judge said that he was bound by s 23(2)(a) and the terms of the remittal order to apply the reasons of the majority decision: at [112].

88    The primary judge accepted Aristocrat’s submission that each of the dismissing reasons and allowing reasons was critical of the two-step analysis set out in the majority decision: at [116]. However, the primary judge said that a review of each set of reasons indicates no uniformity of approach from which a ratio decidendi may be discerned: at [116]. The primary judge reviewed each set of reasons and said that there was no common thread of reasoning which could be discerned in the High Court decision that is critical of the two-step analysis in the majority decision; rather, for reasons aligned with the differences of principle expressed between the dismissing reasons and the allowing reasons, each expressed a different basis for its critique: at [119].

89    The primary judge then rejected Aristocrat’s submission that only the allowing reasons are consistent with established High Court authority and thus must be preferred to the dismissing reasons: at [120]. The primary judge referred to the dismissing reasons as having referred to and applied the established authorities to which Aristocrat referred, and at no point do the dismissing reasons criticise previous High Court decisions or purport to overturn existing Full Court authority: at [120]. The allowing reasons of the High Court also referred to those authorities but considered that their application calls for a different outcome: at [120]. The primary judge could therefore see no basis upon which a single judge on remitter could form the view that the dismissing reasons must be set aside in preference to the allowing reasons: at [120].

90    As to Aristocrat’s submission that the primary judge on remitter should make factual findings of the type that the dismissing reasons observed to be missing, and which PJ1 considered to be unnecessary in holding claim 1 to be a manner of manufacture, the factual findings sought by Aristocrat are those which would provide a basis for the Court to conclude that the residual claims are for an invention that involves a technical contribution, including in the field of gaming technology: at [125]. The primary judge expressed the view that, unfortunately for Aristocrat, it is caught in a procedural bind which precludes such an approach on remitter: at [126]. The primary judge referred to the majority decision’s refusal to consider Aristocrat’s notice of contention, and concluded that, having failed to establish that PJ1 was correct on a basis other than the reasons set out in that decision, the majority decision left no avenue open for Aristocrat to seek different or additional findings of fact to support an alternative analysis: at [126]. Nor did the High Court’s decision assist Aristocrat’s contention in this regard, in that no door was left open by which it may be said that the dismissing reasons (on which Aristocrat relied for this purpose) considered that additional findings of fact on the basis of the expert evidence adduced ought to be reconsidered: at [127].

91    The primary judge then expressed the conclusion that his Honour was bound to follow the reasons set out in the majority decision in considering the patentability of the residual claims, and held that it was not open to him to consider whether those reasons were in conformity with established principle: at [129].

92    The primary judge helpfully summarised the salient findings in the majority decision in relation to claim 1 of the 967 patent as follows (at [130]):

(a)    an EGM is a computer ([30]);

(b)     the substance of the invention disclosed in claim 1 is the feature game in integers 1.10–1.12 implemented on an EGM ([30], [56]);

(c)     the 12 integers making up the invention between them constitute a computer ([53]) in the form of an EGM with the feature game in integers 1.10–1.12. The feature game is the only aspect of the computer that distinguishes it from other EGMs ([31]);

(d)    integers 1.10–1.12 embody an abstract idea. The implementation of that abstract idea in an EGM cannot constitute patentable subject matter unless it represents an “advance in computer technology” ([57]);

(e)     the implementation of the feature game contained in integers 1.10–1.12 does not involve any advance in computer technology ([40]);

(f)     the fact that integers 1.10–1.12 leave it entirely to the person designing the EGM to do the programming to give effect to the feature game which gives effect to the family of games which those integers define inevitably necessitates the conclusion that claim 1 pertains only to the use of a computer; claim 1 is silent on the topic of computer technology beyond that the person implementing it should use some ([63]);

(g)     it is irrelevant that the invention may improve player engagement or increase subjective satisfaction, none of which has anything to do with the development of advance of computer technology per se ([64]); and

(h)     changes in the reel structure in claim 3 of the 967 patent and the idea of configurable symbols are not to be seen as advances in computer technology ([65]).

93    The primary judge then dealt with dependent claim 5 of the 967 patent: at [131]–[137]. The primary judge said that, having regard to the findings of the majority decision of the Full Court, the only conclusion available is that dependent claim 5 of the 967 patent provides no additional features that would warrant a conclusion different to the conclusion reached by the majority decision in respect of claim 1 of the 967 patent: at [135]. Taken collectively, the additional integers of dependent claim 5 of the 967 patent were described as imposing additional features or limitations on the conduct of the game referred to in claim 1, and, to adopt the language of the majority decision at [63], none may be said to pertain to the development of computer technology and each leaves it to the person designing the EGM to do the programming which gives effect to the family of games (or rules) which those integers define: at [136]. The primary judge referred also to the conclusions in the majority decision (at [64]) that the fact that the invention improves player engagement or satisfaction does not bear on whether it is an advance in computer technology, and (at [65]) that neither changes in real structure nor the idea of configurable symbols were to be seen as advances in computer technology: at [137]. Accordingly, the primary judge concluded that dependent claim 5 of the 967 patent cannot, on the basis of the decision of the Full Court, be found to be for a manner of manufacture: at [137].

94    Turning to dependent claim 5 of the 629 patent, the primary judge said that, again, applying the reasoning of the majority decision, there was no basis upon which this claim would amount to a manner of manufacture: at [142]. The primary judge said that, although somewhat differently expressed, dependent claim 5 of the 629 patent defines an invention the substance of which the majority decision would consider to reside in the feature game or the rules for carrying out the game, and the majority decision concluded that claim 1 of the 967 patent, considered as a matter of substance, is an abstract idea, being a scheme or set of rules for playing a game which is implemented using a conventional gaming machine for its known and understood functions: at [142]. Accordingly, the primary judge was not persuaded that by reason of the slightly different language used, the reasoning of the majority decision would permit any different result in respect of the invention of dependent claim 5 of the 629 patent: at [142].

95    As to dependent claim 5 of the 097 patent, the primary judge regarded himself as bound by the majority decision to reach the same conclusion as the other residual claims: at [146]–[149]. The primary judge had regard to the particular features of this claim, and observed that integers 3.1, 4.1, 4.2 and 5.1 add features which are directed to the rules of the game itself in displaying information and awarding additional games based on the outcome of particular game events, which are not different in character to the features in integers 1.8–1.13 of claim 1 of the 097 patent and are not concerned with the hardware or software elements in integers 1.1–1.6: at [149]. The primary judge said that the reasoning of the majority decision does not support any conclusion other than that any ingenuity in the additional features resides in the scheme or rules of the game itself, and not in the manner of its implementation in a conventional EGM: at [149].

96    The primary judge concluded PJ2 by saying that Aristocrat had not established that any of the residual claims is a manner of manufacture, with the consequence that the appeal from the decisions made by the delegate of the Commissioner on 5 July 2018 to revoke the 967 patent, 629 patent, 097 patent and 098 patent must be dismissed: at [150].

The effect of s 23(2)(a) of the Judiciary Act

97    As Dixon J said in Tasmania v Victoria [1935] HCA 4; (1935) 52 CLR 157 at 183–84, where members of a Court are equally divided in opinion, some “expedient” must be adopted for disposing of the case, and in the case of the High Court of Australia, the “expedient” is prescribed by s 23(2). His Honour went on to say that the decision so arrived at does not become a precedent which has authority in the High Court; see to similar effect Rich J (at 173), and the approval of the reasons of Rich and Dixon JJ by Rich, Dixon, Evatt and McTiernan JJ in Long v Chubb Australian Company Ltd [1935] HCA 11; (1935) 53 CLR 143 at 152. Further, the expedient prescribed by s 23(2) of the Judiciary Act enables a decision to be given in the particular case, but the application of the provision does not give to the opinion of those members of the High Court who favoured that disposition of the matter any special status, nor is it possible to resort to the decision of the Court below as serving to identify the principle that is established by the decision: Re Wakim; Ex parte McNally [1999] HCA 27; (1999) 198 CLR 511 (Re Wakim) at [101] (Gummow and Hayne JJ).

98    The issue in the present case was not dealt with directly by those authorities, namely what is encompassed in “the decision” of the Federal Court which is affirmed under s 23(2)(a). Is it merely the orders of the Federal Court, or does it extend to the reasons? In Perara-Cathcart v The Queen [2017] HCA 9l; (2017) 260 CLR 595 (Perara-Cathcart) at [75], Gageler J explained that the decision-making rule which is applied to produce the order of a multi-member court in a case in which there is disagreement between its members is different in timing, concept and purpose from the principle applied in an attempt to extract a ratio decidendi from the reasons for decision of the members of that court in that case, and said that the rule is directed to ensuring an outcome in the case and applies to produce a result. As his Honour said, every case must have an outcome, but not every case need have a ratio decidendi. In relation to s 23(2) of the Judiciary Act, his Honour said (at [76]) that in each of the circumstances of equally divided opinion, the applicable decision-making rule produces a resolution of the case at hand, but does not produce a decision which necessarily constitutes a binding precedent. Justice Gageler referred to the “question” to be decided according to the decision of the majority of the High Court under s 23(2) as being the ultimate question of what order the High Court is to make in the disposition of the appeal (at [77]–[78]), and said that the “question” is as to the order not the reasons (at [79]). It follows that the phrase “the decision to be given on any question” by the Full Court of the High Court in s 23(2) refers only to orders rather than reasons. There is no apparent reason why the term “the decision” should bear a different meaning in this regard when it is used in the same sub-section to refer to “the decision appealed from” being affirmed. Justice Gordon (at [159]–[160]) said that the conclusion that a disagreement in reasoning should not and cannot render a court unable to make an order, does not give the reasons of judges who sat in the Full Federal Court any special status, and as the High Court has said of its own decisions in which there was a division of opinion, the fact that an expedient is applied does not mean that those reasons constitute a binding authority.

99    The reasoning of Gageler and Gordon JJ in Perara-Cathcart thus points towards the conclusion that “the decision” of the Federal Court which is affirmed under s 23(2)(a) refers merely to the orders of the Federal Court, and does not extend to the reasons of that Court. That conclusion is also consistent with the description of s 23(2)(a) as an “expedient”; that is, a rule which is appropriate to produce an outcome on pragmatic rather than principled grounds. Accordingly, in our view, s 23(2)(a) did not itself, and of its own force, affirm the reasoning of the majority decision.

The effect of the remittal order

100    The critical aspect of the remittal order for present purposes is that the proceedings be remitted to the primary judge for determination of any residual issues “in light of the Full Court’s reasons”. In Aristocrat’s submission, the expression “in light of” means “having regard to” (T21.38–39). The Commissioner’s written submissions adopted that construction at [11], but appeared to contradict that submission at [19] in submitting that the remittal order in the present case explicitly required the application of the Full Court’s reasons. In oral address, Senior Counsel for the Commissioner explained that the former construction (ie, “having regard to”) represented the Commissioner’s submission (T55.7–10, and see the earlier discussion at T52.23–53.10). It is thus common ground between the parties, with which we agree, that the expression “in light of” as used in the remittal order means no more than “having regard to”. That concept is inclusive of the matters to which the primary judge on remitter had to take into account, but does not require that the determination is to have regard only to the Full Court’s reasons.

101    The terms of the remittal order may thus be contrasted with the more conventional form of remitter “for determination according to law”. Even that formulation, however, does not invariably require that the decision of the court remitting the matter must be followed. As the Full Court explained in BVT20 v Minister for Immigration, Citizenship, Migrant Services and Multicultural Affairs [2020] FCAFC 222; (2020) 283 FCR 97 at [58] (Allsop CJ, Moshinsky and O’Callaghan JJ), in the usual case the law will have been correctly stated in the judgment of the court that remits the matter, however there may be exceptional cases. The example given is where, in the period between the judgment of the court remitting the matter and its redetermination, a higher court has resolved the issue differently from the court that remitted the matter, in which case the obligation of the decision-maker on remitter would be to apply the law as stated by the higher court. Aristocrat submits that it was not necessary to add the words “according to law” in the form of the remittal order because it is beyond controversy that the role of Australian courts is to do justice according to law, citing Australian Broadcasting Corporation v Lenah Game Meats Pty Ltd [2001] HCA 63; (2001) 208 CLR 199 at [59] (Gaudron J). While that proposition may readily be accepted, the state of the law on the particular point in question in the present case is not necessarily to be gleaned from the reasons given by the High Court, given its equal division of opinion.

102    There was some speculation in the course of oral argument before us as to the reason for the particular form of the remittal language which was adopted in this case, by agreement of all three judges. One possibility is that it may have been intended to preserve some flexibility given that the remittal order refers generally to the Full Court’s reasons as a whole (not just the majority decision) and there were important differences between the majority and the minority decisions, including as to the scope of what remained to be decided. However, it is not necessary for us to determine the unstated rationale for the form of the remittal order, but merely to construe it according to its ordinary and natural meaning.

103    In our view, the remittal order in terms, and of its own force, did not require the primary judge to apply the majority decision, but merely to have regard to the Full Court’s reasons. Whether the primary judge was required to apply the majority decision is a matter to be determined by the doctrine of precedent, to which we now turn.

The effect of the doctrine of precedent on the primary judge

104    In our view, the primary judge was bound by the majority decision of the Full Court, not by reason of s 23(2)(a) or the terms and effect of the remittal order, but by the doctrine of precedent, or stare decisis. The invalidity of claim 1 of the 967 patent was decided by the Full Court for the reasons given by it, and the primary judge found (correctly, in our view) that there was no material distinction between those facts and the facts presented by the residual claims. The equal division of opinion in the High Court did not create any binding precedent. As the primary judge correctly said in PJ2 (at [105]), only unanimous or majority decisions of the High Court have binding authority: Federal Commissioner of Taxation v St Helens Farm (ACT) Pty Ltd [1981] HCA 4; (1991) 146 CLR 336 at 432 (Aickin J); Milne v Federal Commissioner of Taxation [1976] HCA 2; (1976) 133 CLR 526 at 533 (Barwick CJ, with whom Gibbs and Stephen JJ agreed). Further, the expedient prescribed by s 23(2) of the Judiciary Act does not give to the opinion of those members of the High Court who favoured that disposition of the matter any special status: Re Wakim at [101] (Gummow and Hayne JJ).

105    Aristocrat seeks to avoid the conclusion that the primary judge was bound by the majority decision in two ways. First, Aristocrat draws attention to the reasoning in Unions NSW v New South Wales [2013] HCA 58; (2013) 252 CLR 530 at [50], in which the High Court referred to aspects of the reasoning of Hayne J (who formed part of the statutory minority) and Crennan, Kiefel and Bell JJ (who formed the statutory majority) in Monis v The Queen [2013] HCA 4; (2013) 249 CLR 92, as serving “to confirm” the relevant principles. However, as Aristocrat’s submission acknowledges, that technique was adopted “to confirm”, rather than to establish, the relevant principles. There is no indication that the technique was being adopted in order to identify binding, as distinct from persuasive, statements of principle. Aristocrat also draws attention to a similar approach having been taken by the Full Federal Court in Colin R Price & Associates Pty Ltd v Four Oaks Pty Ltd [2017] FCAFC 75; (2017) 251 FCR 404 at [103]–[104], but again there is no indication that the Full Court in that case was treating the aggregation of separate reasons as binding, rather than merely persuasive, authority. As a matter of principle, it is not permissible to construct a purportedly binding ratio by adding reasons of a dissentient to one or more of the majority to form a majority of judges: Federation Insurance Limited v Wasson [1987] HCA 34; (1987) 163 CLR 303 at 314 (Mason CJ, Wilson, Dawson and Toohey JJ).

106    Second, Aristocrat submits that the primary judge should have proceeded on the basis that the majority decision was superseded by the seriously considered dicta of all six judges of the High Court in rejecting the proposed alternative two-step approach of the majority decision. In that regard, Aristocrat relies on what was said by the High Court in Farah Constructions Pty Ltd v Say-Dee Pty Ltd [2007] HCA 22; (2007) 230 CLR 89 (Farah) at [134], to the effect that an intermediate court of appeal should not depart from long-established authority and seriously considered dicta of a majority of the High Court. In applying that statement, it must be borne in mind that there are two requirements, namely that the seriously considered dicta conform with long-established authority and that they are the dicta of a majority of the High Court. As the Full Court explained in Harvard Nominees Pty Ltd v Tiller [2020] FCAFC 229; (2020) 282 FCR 530 at [54] (Lee, Anastassiou and Stewart JJ), not only is that the better reading of the passage in Farah, but dicta of a majority of the High Court would otherwise enjoy the same precedential status as rationes. Aristocrat submits that the rejection of the proposed alternative approach in the majority decision by obiter dicta of all six judges of the High Court conforms to the long-standing authority of NRDC at 277, to the effect that a manner of manufacture is satisfied by an artificially created state of affairs with economic utility.

107    The difficulty with that argument is that, while it is true to say that all six judges of the High Court rejected the proposed alternative two-step approach of the majority decision, the two sets of reasoning in the High Court did so for markedly different reasons. That point was well made by the primary judge in PJ2 (at [116]–[119]). On the one hand, as the primary judge explained (at [117]), the dismissing reasons considered (at [77]) that the two-step analysis of the majority decision unnecessarily complicated the analysis of the crucial issue as to the characterisation of the invention, and that asking whether the claimed invention is an advance in computer technology, as opposed to gaming technology or an advance in technology at all, was neither necessary nor helpful. The dismissing reasons considered that the claimed invention took its character as an invention from the elements that were considered to be “new”, and that it is only in relation to the feature game (defined by integers 1.10–1.12) that the “invention” was claimed to subsist, and those elements did not include a component that produced “some adaptation or alteration of, or addition to, technology otherwise well-known in the common general knowledge” (at [75]). On the other hand, the primary judge correctly described the allowing reasons’ rejection of the approach of the majority decision as more fundamental: PJ2 at [118]. As the primary judge said, the allowing reasons noted that claim 1 of the 967 patent was not to be characterised as a scheme or idea for a game that is separate from the external or artificial application of the game, such that the operation of the game controller cannot be “severed” from the interdependent player interface in the EGM. According to the allowing reasons, the question of whether a claim is for a manner of manufacture should not be deconstructed to require, separately from the general principles of patentability, consideration of whether the subject matter is “computer-implemented”, and instead the implementation of a scheme or idea on a computer (as with any other machine) should create “an artificial state of affairs and a useful result” as propounded in NRDC: allowing reasons at [152]–[153]. Accordingly, as the primary judge said, it cannot be said that a common thread of reasoning can be discerned in the High Court decision that is critical of the two-step analysis in the majority decision; rather, for reasons aligned with the differences of principle expressed between the dismissing reasons and the allowing reasons, each expressed a different basis for its critique: PJ2 at [119].

108    It is the reasons, not the outcome, of judgments which gives them precedential significance, whether by way of ratio decidendi or obiter dicta. A coincident outcome produced by two distinct lines of reasoning is not sufficient to satisfy the concept of seriously considered dicta of a majority of the High Court in conformity with long-established authority. Such a circumstance indicates an unsettled state of the law, rather than the kind of well-established understanding of the law which the High Court in Farah sought to safeguard against “destabilising departures” (to adopt the phrase of P Herzfeld and T Prince, Interpretation (2nd ed, Thomson Reuters, 2020) at [33.320]).

109    In our view, the primary judge was correct to say that his Honour was bound by the majority decision in view of the judicial hierarchy in which the matter was to be decided: PJ2 at [121] and [129]. The binding nature of the majority decision was not displaced by the fact that the markedly differing reasons in the dismissing reasons and the allowing reasons coincided in a conclusion that the majority decision’s alternative two-step approach should not be followed.

The effect of the doctrine of precedent on the present Full Court

110    In the course of oral argument, Aristocrat sought leave to amend its Notice of Appeal, which was previously almost entirely expressed by reference to actual errors alleged to have been committed by the primary judge. Thus, ground 5 of the Notice of Appeal is expressed as follows, with the proposed amendments underlined:

The Primary Judge erred, at [121] and [129] by finding he was bound to apply the two-step analysis of the Majority Decision to determine the invention claimed in each of the Residual Claims was not a manner of manufacture, alternatively this Court ought to find that the two-step analysis is plainly wrong or that there is reason to depart from it in determining whether the invention claimed in each of the Residual Claims is a manner of manufacture.

111    The other proposed amendments are to grounds 10 and 11, which are as follows (again, showing the proposed amendments with underlining):

10.    The Primary Judge ought to have found, alternatively this Court should find, that each of the Residual Claims:

(a)    claimed a combination and should be assessed by reference to the combination of the integers claimed; and

(b)    claimed a manner of manufacture.

11.    Further or in the alternative the Primary Judge ought to have made, alternatively this Court should make, findings of fact as to whether, on the evidence admitted at the trial of the proceeding, the Appellant had demonstrated that the invention claimed in each of the Residual Claims embodied a technical advance and functional improvements to EGMs.

112    In view of those proposed amendments, and the shortage of time to address the proper disposition of the new issues if leave to amend were granted, we directed the parties (with their concurrence) to file and serve further written submissions as to whether the amendments should be permitted and, if so, what approach we should take in determining the matter for ourselves according to law. The Commissioner does not oppose the grant of leave to amend the notice of appeal in those ways.

113    Unlike the primary judge, the Full Court is not necessarily bound by previous Full Court decisions. The extent to which an intermediate appellate court regards itself as free to depart from its own previous decisions is a matter of practice for the Court to determine for itself: Nguyen v Nguyen [1990] HCA 9; (1990) 169 CLR 245 at 268 (Dawson, Toohey and McHugh JJ). In Transurban CityLink Ltd v Allan [1999] FCA 1723; (1999) 95 FCR 553 (Transurban) at [31], Black CJ, Hill, Sundberg, Marshall and Kenny JJ said that, beyond the principle that the Full Federal Court was not strictly bound by its own previous decisions, it was neither possible nor desirable to formulate exhaustive criteria upon which it should act when asked to reconsider an earlier decision, for much will depend upon the nature of the controversy, the strength of the arguments and the particular circumstances of the case. At times, the question has been approached on the basis that the party seeking to persuade the Full Federal Court to depart from its earlier decision must show that the earlier decision is “plainly wrong” or has produced unintended or irrational consequences: see for example, Algama v Minister for Immigration and Multicultural Affairs [2001] FCA 1884; (2001) 115 FCR 253 at [53]–[58] (Whitlam and Katz JJ); Minister for Immigration, Citizenship, Migrant Services and Multicultural Affairs v FAK19 [2021] FCAFC 153; (2021) 287 FCR 181 at [2]–[32] (Allsop CJ). However, as Beach J pointed out in FKV17 v Minister for Home Affairs [2022] FCAFC 93; (2022) 292 FCR 201 at [172]–[174], the formulation “plainly wrong” has not been imposed by the High Court in relation to departure from decisions of the same intermediate appellate court, and both puts the matter too strongly and lacks the flexibility of the Transurban formulation.

114    Justice Lee (with whom Allsop CJ and Jagot J agreed) has observed that the term “plainly wrong” has been subject to much criticism, and a more constructive articulation of the principle is whether there is a compelling reason to depart from the earlier decision: Construction, Forestry, Maritime, Mining and Energy Union v Personnel Contracting Pty Ltd [2020] FCAFC 122; (2020) 279 FCR 631 at [126]. As Leeming JA observed in agreeing with Lee J’s statement, it is generally better to speak to the quality and cogency of the case made out for departure from the earlier decision, rather than the egregiousness of the Court’s error: Pallas v Lendlease Corporation Ltd [2024] NSWCA 83; (2024) 114 NSWLR 81 at [140]. That approach was endorsed by Edelman J in Lendlease Corporation Ltd v Pallas [2025] HCA 19; (2025) 423 ALR 23 at [118]. We therefore adopt as the applicable principle that the Full Federal Court should depart from an earlier Full Federal Court decision only where there is a compelling reason to do so. What constitutes a compelling reason will depend on the particular issue and circumstances of the case.

115    In the particular context of a case where there has been an equal division of opinion in the High Court, Mahoney J in In the Estate of Langley (Deceased); Langley v Langley [1974] 1 NSWLR 46 at 54A–B said that, even if there be no ratio decidendi to be extracted from the decision, the Supreme Court of New South Wales should seek to ensure that its decision is consistent with the views or the approach adopted by members of the High Court, as far as that is possible, having regard to the differences in view which may have been expressed by them. We agree, and regard that proposition as applicable to the issues confronting us as the Full Federal Court.

116    In the present case, all six judges criticised the majority decision’s proposed alternative two-step analysis, albeit for two different sets of reasons. In our view, that provides a compelling reason to adopt the negative proposition that the majority decision should not be followed, even though the equal division of opinion does not itself provide a positive proposition for which the approach taken by the majority decision should be substituted. It would be perverse for the present Full Court to follow a proposed alternative approach of an earlier Full Court which has been disapproved of by all judges of the High Court who have considered it. Such a course would also be productive of very substantial uncertainty in the law, at least until such time as the High Court is able to reconsider the issue.

117    The Commissioner submits that the present Full Court does not have jurisdiction to allow the appeal without a finding of error on the part of the primary judge, and thus the amendments to the notice of appeal are said not to assist Aristocrat. The Commissioner advances four propositions in relation to that submission.

118    First, the Commissioner submits, and we accept, that the weight of authority favours the view that an appeal to the Full Court pursuant to s 24 of the Federal Court of Australia Act 1976 (Cth) (the FCA Act) is by way of rehearing (as distinct from other kinds of appeal such as appeals in the strict sense and appeals de novo as described in Lacey v Attorney-General (Queensland) [2011] HCA 10; (2011) 242 CLR 573 (Lacey) at [57]): Branir Pty Ltd v Owston Nominees (No 2) Pty Ltd [2001] FCA 1833; (2001) 117 FCR 424 (Branir) at [20] (Allsop J, with whom Drummond and Mansfield JJ agreed); Australia Bay Seafoods Pty Ltd v Northern Territory of Australia [2022] FCAFC 180; (2022) 295 FCR 443 at [120] (Besanko, Charlesworth and O’Bryan JJ); National Disability Insurance Agency v Warwick [2025] FCAFC 100 (Warwick) at [92] (Colvin, Jackson and Stellios JJ).

119    Second, the Commissioner submits, and we accept, that the task of the Full Court in hearing such an appeal involves the correction of error, such that it is necessary to find error on the part of the primary judge in order for the Full Court to intervene and substitute its own decision: Lacey at [58] (French CJ, Gummow, Hayne, Crennan, Kiefel and Bell JJ); Minister for Immigration and Border Protection v SZVFW [2018] HCA 30; (2018) 264 CLR 541 (SZVFW) at [30] (Gageler J); KMD v CEO (Department of Health NT) [2025] HCA 4; (2025) 421 ALR 469 at [20] (Gordon, Steward, Gleeson and Beech-Jones JJ); Branir at [21] (Allsop J, with whom Drummond and Mansfield JJ agreed).

120    Third, the Commissioner acknowledges that in some cases involving an appeal by way of rehearing there will be a statutory indication that the powers of the appellate court may be exercised whether or not there was error at first instance: Lacey at [57]; Allesch v Maunz [2000] HCA 40; (2000) 203 CLR 172 (Allesch) at [23] (Gaudron, McHugh, Gummow and Hayne JJ). However, the Commissioner submits, and we accept, that there is no indication in ss 24 and 28 of the FCA Act, or any other provisions of that statute, that the powers of the Full Court on appeal may be exercised without error on the part of the primary judge, consistently with what the Full Court said in Warwick (at [95]). Nor is there any such indication in the Patents Act; in particular: (a) s 158(2) imposes a requirement of leave to appeal to the Full Court but does not provide a basis for the Full Court’s jurisdiction, which is dealt with by s 24 of the FCA Act; (b) s 154 deals with original jurisdiction rather than the appellate jurisdiction of the Full Court, as s 156 makes clear; and (c) s 160 is inapplicable to the present appeal as it deals only with the hearing of appeals against decisions or directions of the Commissioner, not appeals from decisions of a single judge.

121    Fourth, the Commissioner acknowledges (in our view, correctly) that, in an appeal by way of rehearing, the Full Court is required to determine the correctness of the judgment appealed from “in retrospect”; that is, on the basis of the law as it stands at the time of the appeal, as distinct from the law at the time of the first instance judgment: Allesch at [23]; SZVFW at [31]; Warwick at [100]–[101]. We note that in Warwick (at [101]), the Full Court aptly used the term “constructive error” to refer to circumstances where the understanding of the law at the time of the primary judgment changes between then and the appeal or as a result of the appeal itself, and that revised view of the law is then applied to the facts as they present themselves to the appellate court. In the present case, the law has changed as a result of the appeal itself, in that we have rejected the majority decision which bound the primary judge in PJ2. We add that if that were not regarded as falling within the concept of appellable error, it would undermine the effect of recognising that a subsequent Full Court may depart from an earlier Full Court decision in circumstances where there is a compelling reason to do so and where the primary judge proceeded on the basis of being bound by the earlier Full Court decision.

122    Contrary to the Commissioner’s submissions, that fourth proposition provides direct support for the jurisdiction of the Court to decide Aristocrat’s amended notice of appeal in the present case. We have concluded in our determination of this appeal that the majority decision (which the primary judge applied on remitter) is erroneous and that there is a compelling reason for us, as a subsequent Full Court, to depart from it. Although the primary judge was bound to apply the majority decision, his Honour’s reasons on remitter perpetuated the error in the majority decision, and in the present appeal the Full Court has jurisdiction to correct that error. The term “constructive error” is a useful one in emphasising that no criticism of the primary judge is called for. On the contrary, we respectfully commend the self-effacing and restrained manner in which the primary judge performed his Honour’s judicial duty in PJ2, despite what must have been significant misgivings as manifested by the earlier reasoning in PJ1.

123    Accordingly, in our view, we should grant leave to Aristocrat to amend its Notice of Appeal, and uphold the amended ground 5 on the basis that there is a compelling reason for us to depart from the majority decision in determining whether the invention claimed in each of the residual claims is a manner of manufacture.

124    That then leaves the path clear for this Court to determine the residual claims on their merits, without being bound by the majority decision. We note that such a course appears implicitly to have been contemplated by the High Court’s refusal of Aristocrat’s application under s 40 of the Judiciary Act for removal of the present appeal to the High Court, in that the present appeal would be a waste of time, money and effort if this Court were bound simply to follow the majority decision.

How should the residual claims be resolved?

125    It is convenient to begin with claim 1 of the 967 patent, given the very extensive judicial consideration directed to that claim, and the parties’ agreement (recorded in PJ1 at [8]) that if claim 1 of the 967 patent is a manner of manufacture, then so too are the rest of the claims in all of the patents in suit. Claim 1 of the 967 patent remains a useful focus of attention, even though it is common ground that the invalidity of that claim has been finally determined. If that result had not been prescribed by the expedient of s 23(2)(a), how would we as the Full Court have determined it according to legal principle? In short, we would have adopted the reasoning set out in the allowing reasons, for the following reasons.

126    The first step in the analysis is the question of characterisation of the claimed invention. Both sets of reasons in the High Court proceed on the basis that the question whether an invention is a manner of manufacture depends on the issue of characterisation, to be decided on the construction of the claim in light of the specification as a whole and common general knowledge, and to be determined as a matter of substance, not merely the form of the claim: dismissing reasons at [73]; allowing reasons at [101]–[103]. Those propositions are also reflected in the reasoning in D’Arcy v Myriad Genetics Inc [2015] HCA 35; (2015) 258 CLR 334 (Myriad) at [12], [87]–[88] (French CJ, Kiefel, Bell and Keane JJ), [144]–[145] (Gageler and Nettle JJ). They are also consistent with statements in recent Full Court decisions: Research Affiliates at [107]; RPL Central at [96] and [98]; Encompass at [79]–[81]; and Rokt at [69]. Further, if an invention, so characterised, relates in substance to an abstract idea, it is not patentable: dismissing reasons at [22]; allowing reasons at [116]; Research Affiliates at [115] and [119]; RPL Central at [96]; Encompass at [91] and [94]; and Rokt at [76], [80] and [84].

127    There are various competing characterisations in the judgments concerning claim 1 of the 967 patent. In our respectful view, the characterisation adopted in the allowing reasons (at [149]) is to be preferred. We regard that characterisation as better reflecting the integers of the claim viewed as a whole, encompassing the combination of both the inventive and the non-inventive elements. The characterisation adopted in the allowing reasons (at [149]) reflects the emphasis in the specification not just on the feature game but also on the function and display of configurable symbols in relation to the feature game, and the integration of those elements in the interdependent player interface and game controller. The allowing reasons refer (at [137]) to expert evidence before the primary judge that the configurable symbols, particularly the prize values overlaid on them, are a significant enhancement of a player’s experience. Further, the allowing reasons (at [137]) point out that the configurable symbols and the feature games require implementation in the EGM, and in the operation of the EGM, they interact with, and are entirely dependent upon, other integers of the claim, especially the physical integers, and therefore are inextricably connected with the player interface. The characterisation adopted in the allowing reasons does not give undue or preponderant weight to the inventive aspects of the claim over the non-inventive aspects, and gives due recognition to those physical elements which are non-inventive yet fundamental to the operation of the EGM.

128    Further, we regard the allowing reasons as better aligned with the seminal reasoning at 277 of NRDC, and the authorities which have followed it. It is true that the High Court in NRDC (at 271) rejected attempts to place upon the idea of “a manner of manufacture” the fetters of an exact verbal formula. That proposition was emphasised in Myriad at [20] by French CJ, Kiefel, Bell and Keane JJ, who went on to say (at [21]) that the formulation of a mode or manner of achieving an end result which is an artificially created state of affairs of utility in the field of economic endeavour should be taken as a guide rather than as a rigid formula. However, their Honours said (at [28]) that:

According to existing principle derived from the NRDC decision, the first two factors are necessary to characterisation of an invention claimed as a manner of manufacture:

1.    Whether the invention as claimed is for a product made, or a process producing an outcome as a result of human action.

2.    Whether the invention as claimed has economic utility.

When the invention falls within the existing concept of manner of manufacture, as it has been developed through cases, they will also ordinarily be sufficient. When a new class of claim involves a significant new application or extension of the concept of “manner of manufacture”, other factors including factors connected directly or indirectly to the purpose of the Act may assume importance.

129    As at the priority date of 11 August 2014, and equally as at 2015 when Myriad was decided, EGMs were typically computerised, with software stored in memory (PJ1 at [30]–[31]). They were not then a new class of claim involving a significant new application or extension of the concept of “manner of manufacture” as envisaged in the last sentence of the above extract from Myriad. Nor were they a new class of case on the boundaries of existing judicial development of the concept of “manner of manufacture” as referred to in Myriad at [7] and [18]. In CCOM (at 295), the Full Court (comprising Spender, Gummow and Heerey JJ) applied the notion of a mode or manner of achieving an end result which is an artificially created state of affairs of utility in the field of economic endeavour, derived from NRDC at 275–277, to an invention concerning a word processor for the storage and retrieval of Chinese characters. The reasoning of the Full Court indicates the appropriateness of using the notion of an artificial effect of economic utility derived from NRDC in the context of a computer-implemented invention. Their Honours noted with disapproval that there were passages in the reasons of the primary judge which suggested that his Honour was influenced in the determination of the issue as to “manner of manufacture”, by asking whether what was claimed involved anything new and unconventional in computer use (at 291). Similarly, in Research Affiliates, the Full Court applied the NRDC principle of whether there was an artificial effect with a useful result to a computer-implemented method for generating a securities index: Research Affiliates at [23] and [115]–[119].

130    However, in RPL Central (at [96]), after saying that there must be more than an abstract idea and that the claimed invention must involve the creation of an artificial state of affairs where the computer is integral to the invention, rather than a mere tool in which the invention is performed, the Full Court said the following:

Where the claimed invention is to a computerised business method, the invention must lie in that computerisation. It is not a patentable invention simply to “put” a business method “into” a computer to implement the business method using the computer for its well-known and understood functions.

That passage was quoted with approval by subsequent Full Courts in Encompass at [95], Rokt at [84], and in the majority decision at [23]. The statement in RPL Central (at [96]) appears to have been an important aspect of the majority decision’s reasoning in favour of its proposed alternative two-step approach, which was ultimately rejected by all members of the High Court. When the allowing reasons referred to some of the statements explaining the results in earlier Full Court cases as having to be read in the context of what was being decided, their Honours gave as an example whether the implementation of the scheme could be described as “an improvement in computer technology” (allowing reasons at [122]). That expression was taken from Rokt at [108], where the Full Court was paraphrasing the effect of the statement in RPL Central at [96].

131    In our respectful view, it is too rigid and narrow an approach to say that the implementation of an idea in a computer, using conventional computer technology for its well-known and well-understood functions, cannot constitute a “manner of manufacture”. We respectfully agree with the view expressed in the allowing reasons (at [122]) that a better way of expressing the point in such cases is to ask whether, properly characterised, the subject matter that is alleged to be patentable is: (i) an abstract idea which is manipulated on a computer; or (ii) an abstract idea which is implemented on a computer to produce an artificial state of affairs and a useful result.

132    The appropriateness of that formulation in the allowing reasons is borne out by reference to the decided cases. As the allowing reasons state (at [121]–[122]), the result in each of the Full Court decisions rejecting the patentability of certain computer-implemented claims was correct, in that each of them merely involved the use of a machine to manipulate an abstract idea rather than involving the implementation of the idea on a machine to produce an artificial state of affairs and a useful result. Those Full Court decisions concern: (a) the scheme for protecting assets from unsecured judgment creditors considered in Grant; (b) the scheme for constructing data concerning a non-capitalisation weighted portfolio of assets considered in Research Affiliates; (c) the scheme for assessing the competency or qualification of people in accordance with recognised standards considered in RPL Central; (d) the method and apparatus for displaying information to provide business intelligence considered in Encompass; and (e) the marketing scheme considered in Rokt. The same observation applies to the use of the GPS-enabled mobile devices for dealing with risk management information considered in Repipe Pty Ltd v Commissioner of Patents [2021] FCAFC 223; (2021) 164 IPR 1 (Perram, Nicholas and Burley JJ), and the improved logistics method considered in Dei Gratia Pty Ltd v Commissioner of Patents [2024] FCA 1145 (Rofe J).

133    By contrast, the curve drawing algorithm held to be a manner of manufacture in International Business Machines Corporation v Commissioner of Patents (1991) 33 FCR 218 at 226 (Burchett J) applied a formula to produce an artificial state of affairs of economic utility, namely the desired and improved curve image. To like effect, the invention held to be patentable in CCOM used a particular method of characterisation of Chinese character strokes which was applied to an apparatus in such a way that the operation of a keyboard would enable the selection, through a computer, of the appropriate Chinese characters used for word processing, which, as mentioned earlier, was found to produce an artificially created state of affairs of utility in the field of economic endeavour (at 295, per Spender, Gummow and Heerey JJ). Similarly, the claim held to be patentable which was considered in UbiPark Pty Ltd v TMA Capital Australia Pty Ltd (No 2) [2023] FCA 885; (2023) 177 IPR 254 at [203]–[207] (Moshinsky J), related to a communications system, computer program and smartphone configured to determine signal strengths of entry and exit signals to control a user’s entry to and exit from a restricted area, which was found to constitute an abstract idea implemented on a computer to produce an artificial state of affairs and a useful result, namely the opening of the entry and exit barriers to allow vehicles to pass. A similar conclusion applies to the method of scanning used in a Time Division Multiple Access system in digital mobile radios to reduce the time required for completing scan operations, considered in Motorola Solutions Inc v Hytera Communications Corporation Ltd (Liability) [2022] FCA 1585; (2022) 172 IPR 221 at [354]–[359] (Perram J), although the actual reasoning in that case simply applied the proposed alternative analysis in the majority decision, as did the Full Court on appeal (Hytera Communications Corporation Ltd v Motorola Solutions Inc [2024] FCAFC 168 at [414] - [416] (Beach, O’Bryan and Rofe JJ)), there being no argument to the contrary.

134    Finally, the allowing reasons avoid the anomaly of treating a computerised EGM as unpatentable, whereas it would be patentable if the EGM operated mechanically. That point was made forcefully in the allowing reasons at [96]–[97] (and see to similar effect [119]), observing that in the 21st century, a law such as s 18(1A) of the Patents Act, that is designed to encourage invention and innovation, should not lead to a different conclusion where physical cogs, reels and motors are replaced by complex software and hardware that generate digital images. The same point was made by the primary judge (in PJ1 at [102]), that it is difficult to see why the development of an implementation of an EGM, that utilises the efficiencies of electronics technology, would be disqualified from patent eligibility, when the old-fashioned mechanical technology was not.

135    Accordingly, if we were able to decide claim 1 of the 967 patent on its merits, we would find that it is a “manner of manufacture” within the meaning of s 18(1A)(a) of the Patents Act for the reasons given in the allowing reasons. Our task, however, is to determine whether the residual claims are a “manner of manufacture”.

136     One way to approach the matter is to consider whether there is any distinguishing feature between claim 1 of the 967 patent and the residual claims, which calls for a different result from that which we would have arrived at in relation to claim 1 of the 967 patent. The agreement of the parties before the primary judge, as recorded in PJ1 (at [8]), was that if claim 1 of the 967 patent is a manner of manufacture, then so too are the rest of the claims in all of the patents in suit. The parties’ agreement was undoubtedly appropriate. As Aristocrat submits, and we accept, each of the residual claims is a combination claim concerned with an altered EGM which produces an artificial state of affairs and a useful result, and in which the integers pertaining to the functionality of the game controller interact with, and are dependent upon, the integers relating to the user interface. Each of the residual claims is therefore a manner of manufacture within the meaning of s 18(1A)(a) of the Patents Act.

137    But in any event, we set out below our preferred characterisation of the residual claims.

138    As to dependent claim 5 of the 967 patent, Aristocrat submits, and we accept, considering the combination of all the integers, that the claim is for an EGM incorporating an interdependent player interface and a game controller which includes feature games, configurable symbols and two sets of reels, where the second set of reels comprises individual reels corresponding to each display position, the selection of configurable symbols may increase the number of free games, and prize values are assigned to configurable symbols: see Aristocrat’s written submissions in chief at [37].

139    As to dependent claim 5 of the 097 patent, Aristocrat submits, and we accept, considering the combination of all the integers, that the claim is for an EGM incorporating an interdependent player interface and a game controller which includes feature games and configurable symbols, with the additional integer of a jackpot trigger using the Hyperlink system whereby the trigger event has a probability related to the desired turnover between successive occurrences of the trigger events on the EGM: see Aristocrat’s written submissions in chief at [40]. It should be noted that it was the inclusion of the jackpot trigger of this kind which led to the conclusion in Konami that the inventions claimed were a manner of manufacture: see Konami at [35]–[39], [212]–[214] and [223] (Nicholas J); the subsequent appeal was only in relation to the issue of inventive step, and not the issue of manner of manufacture (Konami Australia Pty Ltd v Aristocrat Technologies Australia Pty Ltd [2016] FCAFC 103; (2016) 119 IPR 402).

140    As to dependent claim 5 of the 629 patent, Aristocrat submits, and we accept, considering the combination of all the integers, that properly characterised, the invention is an EGM incorporating an interdependent player interface, memory, symbol selector, display controller and outcome evaluator which includes feature games, special symbols and where a jackpot prize is awarded when a predefined number of special symbols is achieved: as recorded in PJ2 at [141].

141    So characterised, the residual claims are a “manner of manufacture” and are as described in alternative (ii) in the allowing reasons at [122]. In each case an artificial state of affairs and useful result are produced.

142    Having concluded that the residual claims are a “manner of manufacture” by analogy with claim 1 of the 967 patent and by characterisation of the claims on their face in the light of the specifications, it is not necessary for us to deal with the expert and other evidence directed to particular aspects of the residual claims.

Conclusion

143    The appeal should therefore be allowed, and the orders sought by Aristocrat should be made. The Commissioner should pay Aristocrat’s costs of the appeal.

144    There is an unusual aspect of that result, in that claim 1 of the 967 patent is excluded from the relief which is otherwise in Aristocrat’s favour. To that extent, the relief offends the general principle of justice according to law that like cases be treated alike. The oddity, however, follows from the procedural peculiarity that the expedient of s 23(2)(a) preserves the finding as to invalidity of claim 1 of the 967 patent as determined by the majority decision, even though we would have come to a different conclusion in relation to that claim if it had been open to us to do so. We are not constrained in that way in relation to the residual claims.

I certify that the preceding one hundred and forty-four (144) numbered paragraphs are a true copy of the Reasons for Judgment of the Honourable Justices Beach, Rofe and Jackman.

Associate:

Dated:    16 September 2025